EasyManua.ls Logo

Bresser MyTime Pro - Page 23

Bresser MyTime Pro
Print Icon
To Next Page IconTo Next Page
To Next Page IconTo Next Page
To Previous Page IconTo Previous Page
To Previous Page IconTo Previous Page
Loading...
23
2. Branchez le connecteur USB-Micro-B du câble électrique
dans le raccord électrique USB du réveil.
3. Branchez la fiche dans la prise de courant.
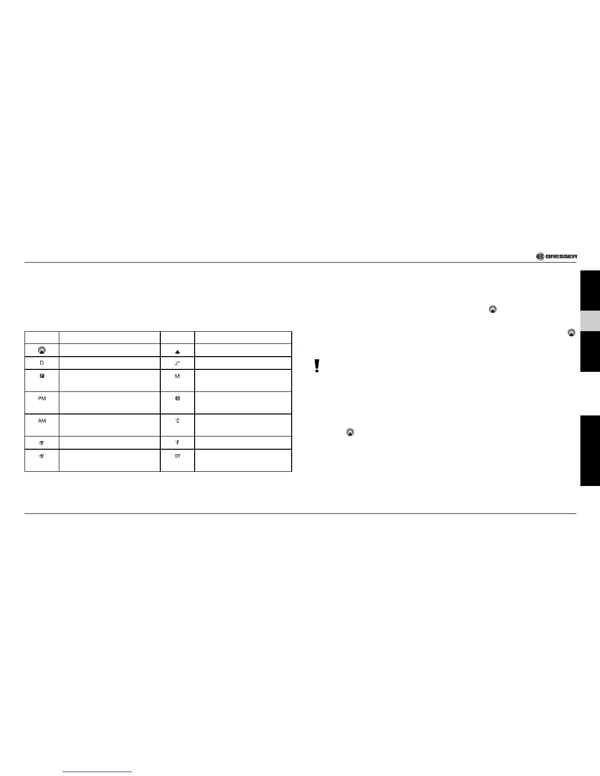
EXPLICATION DES SYMBOLES
Symbole Description Symbole Description
Signal radio Signal radio faible
Date L’alarme est répétée
Affichage de l’heure à
l’étranger
Mois
PM (seulement en mode
12 heures)
Affichage de l’heure d’été
AM (seulement en mode
12 heures)
Degré Celsius
Alarme 1 Degré Fahrenheit
Alarme 2 Double affichage de
l’heure
MISE EN SERVICE
1. L’affichage numérique s’allume une fois les piles insérées.
La montre commence automatiquement à rechercher
le signal radio**. On peut compter environ 3-5 minutes
jusqu’à ce que ce processus soit terminé. Pendant la
recherche, le symbole de signal radio
clignote.
2. Dès qu’un signal radio est capté, la date et l’heure se
règlent automatiquement et le symbole de signal radio
s’affiche à l’écran.
REMARQUE!
De plus, vous pouvez à tout moment réinitialiser la réception
radio en appuyant sur la touche WAVE/°C/°F pendant 3
secondes. Le signal est capté après environ 3-5 minutes.
3. Si aucun signal radio n’est capté, le symbole de signal
radio
ne s’affiche pas. Dans ce cas, il faut régler l’heure
manuellement.
** La réception du signal radio est réinitialisée toutes les
heures. Durant le processus de chargement, la transmission
du signal radio est interrompue.
DE
GB
FR
IT
ES
Garantie / Warranty

Related product manuals