EasyManua.ls Logo

Brigade VBV-770B - Page 10

Brigade VBV-770B
15 pages
Print Icon
To Next Page IconTo Next Page
To Next Page IconTo Next Page
To Previous Page IconTo Previous Page
To Previous Page IconTo Previous Page
Loading...
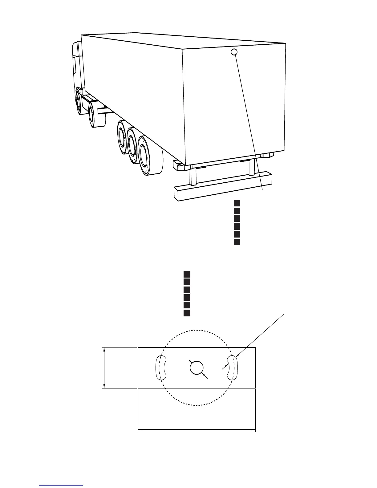
Fig./Abb. 1
1in (25mm)
Ø
0.31" (7
.96mm)
2.8in (72mm)
Ø
0.
2
3"
(
5
.97
mm
)
E
N
F
I
D
E
Mount camera assembly high mounted. (Centred.)
Bevestigingsbeugel camera hoog gemonteerd (Gecentreerd)
Fixer l'ensemble de la caméra en hauteur
. (Centré)
Gruppo telecamera montato in posizione elevata. (Centrato)
Kamera-Anlagen überkopf angebracht (mittig).
Conjunto de montura de cámara a altura. (Centrado)
E
N
F
I
D
E
Camera mounting hole pattern
Cameramontage gatpatroon
Gabarit de perçage du tr
ou de fixation de la caméra
Esempio di for
o per montaggio telecamera.
Bohrschablone für Kamerabefestigung
Patrón per
forado para montaje de cámara