EasyManua.ls Logo

Bushnell 119446C - Page 117

Bushnell 119446C
224 pages
Print Icon
To Next Page IconTo Next Page
To Next Page IconTo Next Page
To Previous Page IconTo Previous Page
To Previous Page IconTo Previous Page
Loading...
117
wenn sie vom EIN- in den SETUP-Modus gebracht wird. In diesem Fall
stellen Sie den Einschaltknopf erst in die Position AUS und bringen ihn
erst dann wieder in die Position SETUP.
SETUP-Modus (Schnelltasten/Funktionen)
Wie bereits oben im Abschnitt “Teile & Bedienelemente” erwähnt, sind vier
der Tasten unter dem Display mit weiteren Schnelltasten-Funktionen belegt,
wenn sich die Kamera im SETUP -Modus befindet (solange die MENÜ-
Taste nicht betätigt wurde):
Durch Drücken der AUFWÄRTS-Taste lässt sich die Kamera im Nu auf
Video-Modus umstellen.
Durch Drücken der ABWÄRTS-Taste macht die Kamera im
Handumdrehen Standfotos.
Durch Drücken der RECHTS-Taste lässt sich die Verriegelung manuell
betätigen. Zum Ausprobieren der Kamera vergewissern Sie sich, dass
Sie sich im SETUP Modus befinden, betätigen Sie dann die RECHTS
-Taste und schon ein paar Sekunden später werden Foto oder Video
(je nachdem, wie die Kamera eingestellt war) auf der SD-Karte (oder
dem internen Speicher, falls keine Karte eingelegt ist) gespeichert. Der
Zähler für die Anzahl der gemachten Bilder unten links in der LCD-
Anzeige erhöht sich jeweils um eine Stelle. Erscheint auf der Anzeige
“SD GESCHÜTZT” wenn Sie den AUSLÖSER betätigen, schalten
Sie die Kamera aus, entfernen die SD-Karte und entfernen Sie den
Schreibschutz von der Karte.
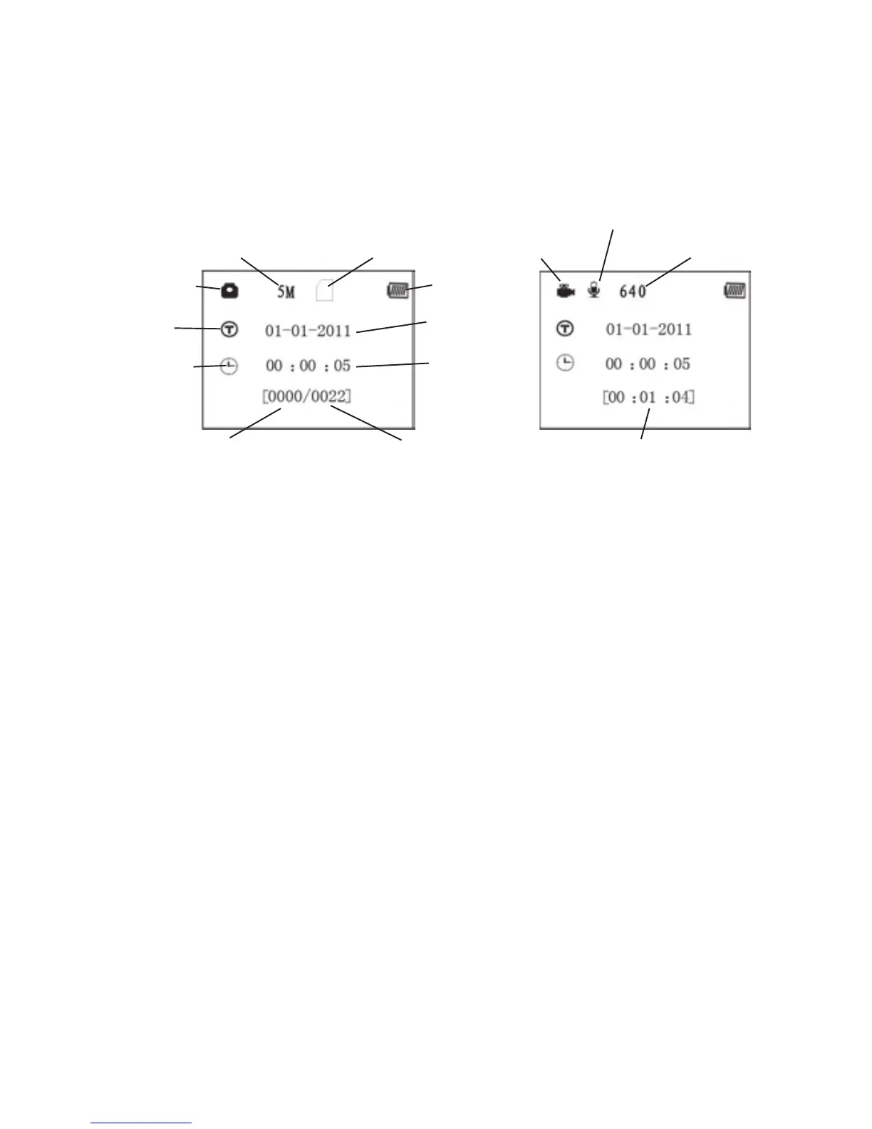
Abb. 3: Anzeige der SETUP-Informationen (angezeigt wirddas Standard-Display)
Aufnahmemodus ein
Zeitstempel
(Time Stamp)
Standfoto Modus
Video Modus
A/V-Buchse
Verbleibende Aufnahmen Kapazität
Film mit Aufnahmezeit verwenden
Anzahl der Aufnahmen
Datum (M/D/Y)
Batteriestand
SD-Kartenstatus
Videoauflösung
Auflösung (Bildgröße)
Uhrzeit (H:M:S)