EasyManua.ls Logo

Bushnell 119477 - Page 50

Bushnell 119477
84 pages
Print Icon
To Next Page IconTo Next Page
To Next Page IconTo Next Page
To Previous Page IconTo Previous Page
To Previous Page IconTo Previous Page
Loading...
50
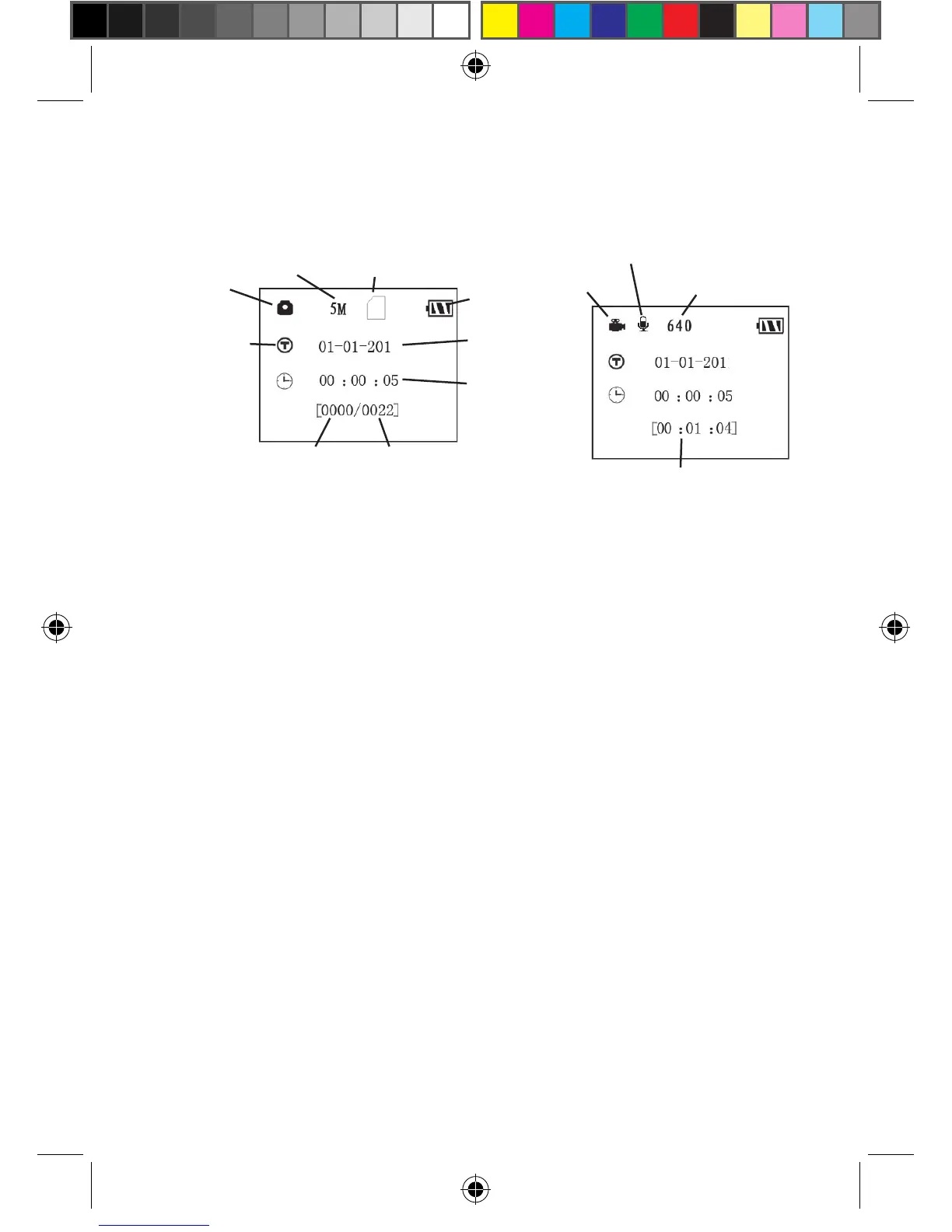
Fig. 3 : Écran d’information du mode CONFIGURATION (SETUP)
- modèle à affichage standard présenté.
branché au jack de sortie TV). Ces réglages, accessibles depuis le menu
CONFIGURATION, vous permettent de changer la résolution des photos
ou des vidéos, l’intervalle de temps entre les photos, de choisir la fonction
impression de la date et de l’heure sur les photos, etc. Le fait de déplacer
le commutateur d’alimentation en position CONFIGURATION (SETUP)
allumera l’écran LCD, et vous pourrez voir un écran d’information qui vous
montrera combien de photos ont été prises, le niveau de charge des piles, si
l’appareil est en mode photo ou vidéo, etc. (voir Fig. 3 ci-dessus).
REMARQUE : Actionnez toujours le commutateur d’alimentation
du mode ARRÊT (OFF) vers le mode CONFIGURATION (SETUP).
Il est possible que l’appareil se bloque s’il passe du mode MARCHE
(ON) au mode CONFIGURATION (SETUP). Si cela se produit, mettez
simplement le commutateur sur ARRÊT (OFF) puis poussez-le de
nouveau vers le haut sur CONFIGURATION (SETUP).
Touches Raccourcis en mode CONFIGURATION (SETUP) :
Comme mentionné auparavant dans la partie « Présentation du Trophy
Cam », quatre touches sous l’écran LCD servent de « raccourcis » de
fonctions lorsque l’appareil est mis en mode CONFIGURATION (SETUP) ,
et à la condition que vous n’ayez pas appuyé sur la touche MENU :
• Appuyez sur la touche HAUT pour rapidement mettre l’appareil en
mode Vidéo.
• Appuyez sur la touche BAS pour rapidement mettre l’appareil en mode
Photo.
Mode appareil photo (photos)
Mode vidéo
2
2
Impression de
la date et de
l’heure sur les
photos
Résolution
Statut de la carte SD
Date: Mois-Jour-
Année
Mémoire disponible
Nombre de
photos prises
Niveau de
charge des piles
Mode Photo
Mode vidéo
Résolution vidéo
Son vidéo activé
Durée d'enregistrement
vidéo disponible
Affichage de
l'heure:
Heures : Minutes :
Secondes
2012 TrophyCams 1280HD_119437C+119447C+119476C+119477C_2LIM for Canada_040412.indd 50
4/4/12 1:52 PM

Other manuals for Bushnell 119477

Related product manuals