EasyManua.ls Logo

Candy CBG620/1X - Page 46

Candy CBG620/1X
138 pages
Print Icon
To Next Page IconTo Next Page
To Next Page IconTo Next Page
To Previous Page IconTo Previous Page
To Previous Page IconTo Previous Page
Loading...
Connexion directe
The appliance must be connected directly to the mains using an
omnipolar circuit breaker with a minimum opening of 3mm between the
contacts.
L'installateur doit s'assurer que le bon raccordement électrique a
été fait et qu’il est conforme au schéma de câblage.
The cable must not be bent or compressed.
Vérifiez régulièrement le cordon d’alimentation et le cordon
d’alimentation.
Si le cordon d'alimentation est endommagé, il doit être remplacé par un
cordon spécial ou assemblage disponible auprès du fabricant ou de son
agent de service.
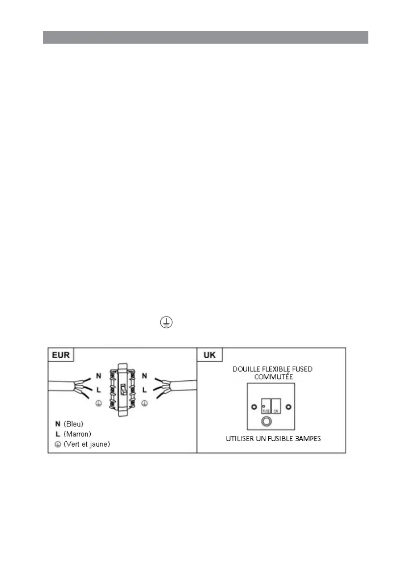
ATTENTION: Ceci est un appareil de classe I et DOIT être mis à la terre
Cet appareil est fourni avec un câble secteur à 3 conducteurs coloré
comme suit:
Marron=L ou Vivre
Bleu =N ou Neutre
Vert et jaune = E ou Terre
Le fusible doit être évalué à 3 ampères.
Installation électrique
Toute installation doit être effectuée par une personne compétente ou
qualifiée électricien. Avant de brancher l’alimentation secteur, assurez-
vous que la tension correspond à la tension indiquée sur la plaque
signalétique.
46

Table of Contents

Related product manuals