EasyManua.ls Logo

Candy CBG625/1N - Page 56

Candy CBG625/1N
138 pages
Print Icon
To Next Page IconTo Next Page
To Next Page IconTo Next Page
To Previous Page IconTo Previous Page
To Previous Page IconTo Previous Page
Loading...
3
Connessione diretta
L'apparecchio deve essere collegato direttamente alla rete
mediante un interruttore onnipolare con un'apertura minima di 3 mm
tra i contatti.
L'installatore deve assicurarsi che sia presente il collegamento
elettrico corretto stato realizzato e conforme allo schema elettrico.
Il cavo non deve essere piegato o compresso.
Controllare regolarmente che la spina e il cavo di alimentazione non
siano danneggiati.
Se il cavo di alimentazione è danneggiato, deve essere sostituito da
un cavo speciale o assemblaggio disponibile dal produttore o dal
suo agente di servizio.
AVVERTIMENTO: Questo è un apparecchio di classe I e DEVE
essere collegato a terra
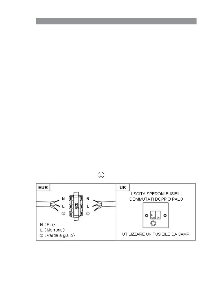
Questo apparecchio viene fornito con un cavo di alimentazione a 3
conduttori colorato come segue:
Marrone = L o Vivere
Blu = N o Neutro
Verde e giallo = E o Terra
Il fusibile deve essere valutato a 3 Ampere.
Installazione elettrica
Tutta l'installazione deve essere eseguita da una persona
competente o qualificata elettricista. Prima di collegare la rete
elettrica assicurarsi che la rete elettrica la tensione corrisponde
alla tensione sulla targhetta dei dati tecnici.
56

Table of Contents

Related product manuals