EasyManua.ls Logo

Candy CH64CCTT - Page 41

Candy CH64CCTT
44 pages
Print Icon
To Next Page IconTo Next Page
To Next Page IconTo Next Page
To Previous Page IconTo Previous Page
To Previous Page IconTo Previous Page
Loading...
FR-
19
Attention
1. L’installation de la table de cuisson à induction doit être effectuée par du personnel
qualifié. Nous avons des professionnels à votre service. N’effectuez en aucun cas cette
installation vous-même.
2. La table de cuisson en vitrocéramique ne doit pas être montée sur les équipements de
refroidissement, les lave-vaisselle / séchoirs.
3. La plaque de cuisson en Vitrocéramique doit être installée de manière à favoriser le
rayonnement thermique et garantir sa fiabilité.
4. Le mur et la zone de cuisson à induction à la surface de la table doivent être résistants à
la chaleur.
5. Pour éviter tout dommage, les différentes couches et la colle doivent être résistants à la
chaleur.
6. Ne pas utiliser de à vapeur pour le nettoyage de la table.
7. Cette céramique ne peut être connectée qu’à un système électrique indépendant ne
dépassant pas 0,427ohm. Si nécessaire, veuillez consulter les autorités compétentes en
matière d’indépendance de réseau électrique.
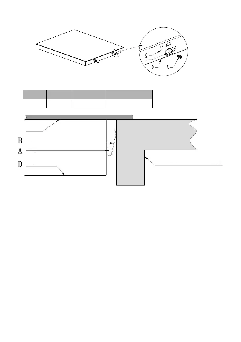
A
B
C
D
Vis
Support
trou de vis
Face inférieure
verre
crochet de support
vis
ST3. 5*8
Face inférieure
Plan de travail/meuble de cuisine

Related product manuals