EasyManua.ls Logo

Candy CMXC 30DCS - Page 48

Candy CMXC 30DCS
72 pages
Print Icon
To Next Page IconTo Next Page
To Next Page IconTo Next Page
To Previous Page IconTo Previous Page
To Previous Page IconTo Previous Page
Loading...
Questo forno a microonde utilizza controlli elettronici moderni per regolare i
parametri di cottura così da soddisfare il più possibile le vostre esigenze.
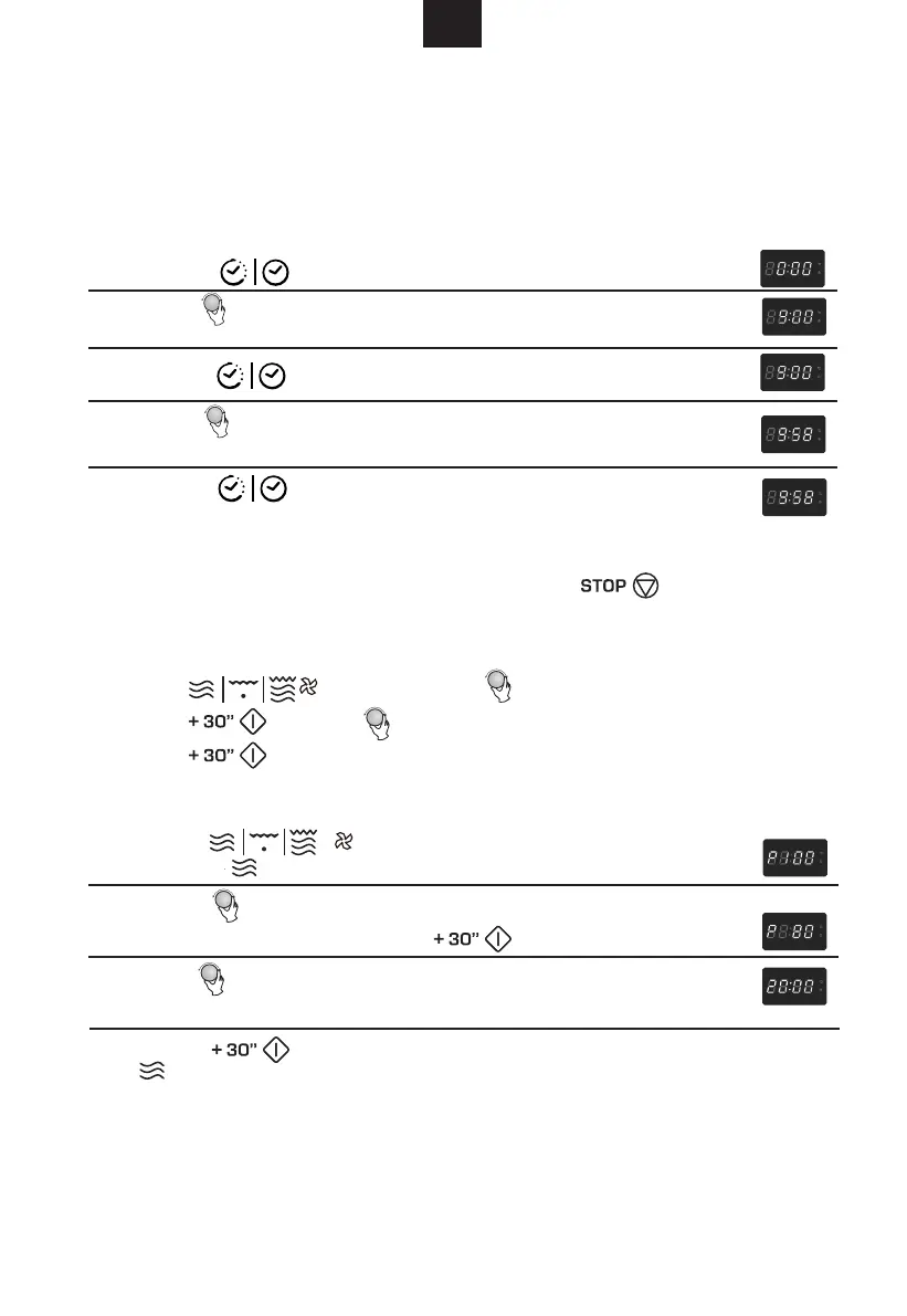
1. Impostazione dell’orario
Quando il forno a microonde viene collegato alla presa di corrente, il forno
visualizzerà "0:00", un segnale acustico emetterà un suono.
1) Premere " " , le cifre dell’ora lampeggeranno.
2) Ruotare " " per regolare le ore; la cifra inserita per le ore dovrebbe essere
compresa tra 0--23.
3) Premere " ",le cifre dei minuti lampeggeranno.
4) Ruotare " " per regolare I minuti, la cifra inserita per I
minuti dovrebbe essere
compresa tra 0--59.
5) Premere " " per completare l’impostazione dell’ora
. ":" lampeggerà.
Nota: 1) se l’orologio non viene impostato, questo non funzionerà quando collegato
elettricamente.
2) Nel corso dell’impostazione dell’orologio, se premete " " o se non
effettuate nessuna operazione nel corso di un minuto, il forno uscirà dalla funzione
di impostazione.
2. Cottura a microonde
Premere " "una volta, ruotare " " per selezionare la funzione desiderata.
Ruotare " " per regolare il tempo di cottura.
Premere " "
per
iniziare
la
cottura.
Esempio: se volete utilizzare una potenza dell’ 80% per cuocere per 20 minuti,
dovrete far funzionare il forno seguendo i passi seguenti:
1)Premere "
" una volta, il LED visualizzerà "P100",
l’indicatore " " sarà acceso
2) Ruotare " " ancora una volta per scegliere una
potenza
dell’80%,
il LED visualizzerà "P80".
3) Ruotare " " per regolare il tempo di cottura sino a quando il display
visualizzerà
"20:00"
(Il tempo di cottura massimo è 95 minuti.)
4) Premere " " per iniziare la cottura, ":" si accenderà e l’indicatore
" "lampeggerà (un segnale acustico emetterà cinque suoni al termine della
cottura).
NOTA: I livelli per la regolazione del tempo di programmazione sono i seguenti:
0---1 min : 5 secondi
1---5 min : 10 secondi
5---10 min : 30 secondi
10---30 min : 1 minuto
30---95 min : 5 minuti
ISTRUZIONI DI FUNZIONAMENTO
IT
Premere " "
.
Premere " "
46

Related product manuals