EasyManua.ls Logo

Candy CMXG20DR - Page 74

Candy CMXG20DR
Print Icon
To Next Page IconTo Next Page
To Next Page IconTo Next Page
To Previous Page IconTo Previous Page
To Previous Page IconTo Previous Page
Loading...
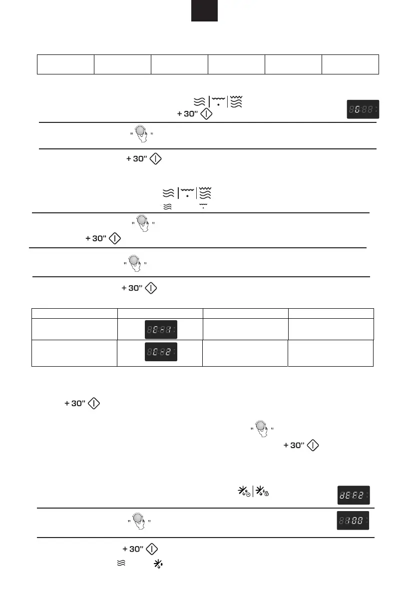
Moč mikrovalov:
Moč
mikrovalov
100% 80% 50% 30% 10%
3. Žar
1) pritisnite na tipko » «; na prikazovalniku
se prikaže »G«.
2) Z obračanjem gumba
nastavite čas ; najdaljši možni čas je 95 minut.
4. Kombinirano kuhanje
1) pritisnite na tipko » «; na prikazovalniku se prikaže
»G« . Osvetlita se indikatorja
in .
čanjem gumba
nastavite čas ; najdaljši možni čas je 95 minut.
Kombinirano kuhanje:
Navodila Prikazovalnik LED Moč mikrovalov Moč žara
1 55% 45%
2
36% 64%
5. Hitro kuhanje
Če je pečica v stanju čakanja, začnete s kuhanjem pri polni moči mikrovalov s pritiskom na
tipko » «
Opomba: če so aktivni drugi programi, ta funkcija ni aktivna.
6. Odtaljevanje po teži živila
Na prikazovalniku se prikaže napis »dEF2«.
2) Z obračanjem gumba
vnesite težo živila. Vnesete lahko vrednost
med 100 in 2000 g.
3) Pritisnite na tipko » « in odtaljevanje se začne.
Utripata indikatorja
in , črka »g« ugasne..
3) Pritisnite na tipko » « in kuhanje se začne.
» « in kuhanje se začne. Indikator utripa, osvetli se »:«.
najdaljši možni čas je 95 minut.
1) Enkrat pritisnite na tipko za odtaljevanje po teži - » «.
"
" "
"
SL
" " " "
2-krat
Pritisnite na tipko »
«
1).
FUNKCIJA EKO
2-krat
3) Z obra
4) Pritisnite na tipko
2) Z obračanjem gumba izberite možnost C-1 ali C-2. Izbiro potrdite s pritiskom
na tipko .
2).Če je pečica v stanju čakanja, z obračanjem gumba nastavite trajanje kuhanja
s 100-% močjo, nato pa začnete kuhati s pritiskom na tipko
.
73

Related product manuals