EasyManua.ls Logo

Candy CMXG20DR - Control Panel and Operation; Control Panel Layout and Functions

Candy CMXG20DR
Print Icon
To Next Page IconTo Next Page
To Next Page IconTo Next Page
To Previous Page IconTo Previous Page
To Previous Page IconTo Previous Page
Loading...
GB
2
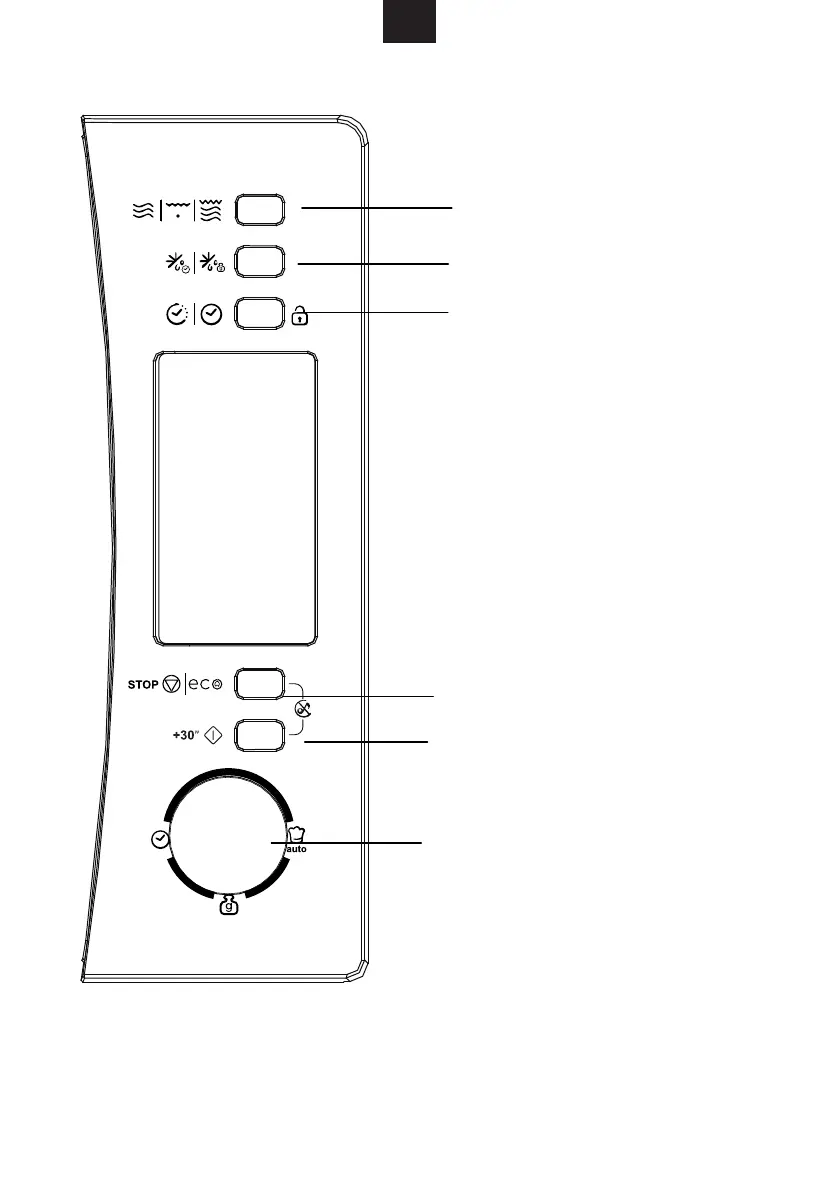
CLOCK/PRE-SET
DEFROST BY WEIGHT
DEFROST BY TIME
MICRO/GRILL/COMBI
STOP/CLEAR/
/CHILD LOCK
START/EXPRESS
ECO FUNCTION
AUTO MENU/TIME/WEIGHT

Related product manuals