EasyManua.ls Logo

Candy CMXG20DS - Microwave Oven Operation - Special Functions; Pre-set, ECO, and Silent Mode

Candy CMXG20DS
33 pages
Print Icon
To Next Page IconTo Next Page
To Next Page IconTo Next Page
To Previous Page IconTo Previous Page
To Previous Page IconTo Previous Page
Loading...
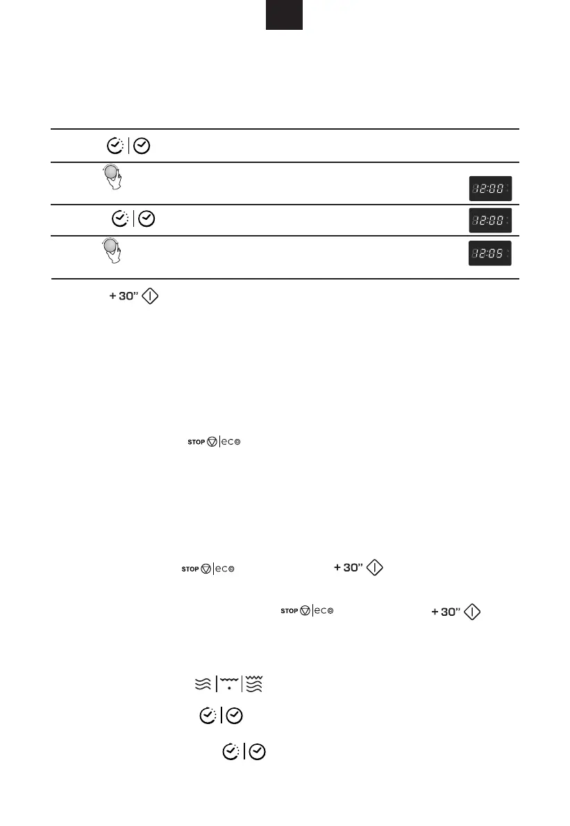
10. Pre-set Function
1) Set the clock first. (Consult the instruction of clock setting.)
2) Input the cooking program. Two stages can be set at most. Defrosting
should not be set here.
Note: 1) Clock must be set first. Otherwise,pre-set function will not work.
2) If the pre-set program has been set without the cooking program,
the whole setting will be used as an alarm clock. That means when
pre-set time arrives, buzzer will sound five times only.
5) Press " minute figures will flash.
6) Turn " " to adjust the minute figures, the input time should
be within 0--59.
4) Turn " " to adjust the hour figures, the input time should be within
0--23.
3) Press " ". The current clock is displayed. The hour figure flash;
7) Press " " to finish setting. ":" will light, buzzer will
ring twice when the time arrives, then cooking will start automatically.
GB
", the
16
13. Inquiring Function
(1) In cooking state, press " ", the current microwave power
will be displayed for 3 seconds.
(2) In pre-set state, press " " to inquire the time for delay start cooking.
The pre-set time will flash for 3 seconds, then the oven will turn back to the clock display.
(3) During cooking state, press " " to check the current time. It will be displayed
for 3 seconds.
11. ECO Function
In waiting state, Press " " once or if no operation in 1 minute, the screen
will be off. At this time, press any button to turn the screen on.
Note: 1). The oven cannot enter ECO mode if the door is open.
2). Press any button or open the door to turn the screen on under ECO mode.
3). If enter ECO mode under child lock state, recover to still child lock state.
Silent Mode
In waiting states, press “ ”, and then press “ ” simotanoesly in 3 seconds
to enter silent mode. All the buttons and buzzers will stop ringing under silent mode.
To active the sound: in waiting state, press “ ”, and then press “
simotanoesly in 3 seconds to exit the silent mode.
12.

Related product manuals