EasyManua.ls Logo

Candy CVMA90N - Page 290

Candy CVMA90N
359 pages
Print Icon
To Next Page IconTo Next Page
To Next Page IconTo Next Page
To Previous Page IconTo Previous Page
To Previous Page IconTo Previous Page
Loading...
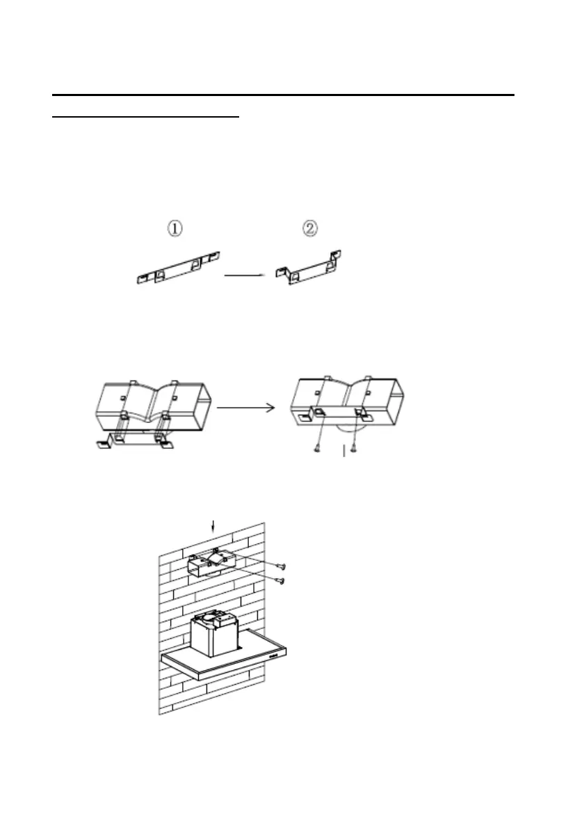
INSTALLATIE (LUCHTAFFLECTOR VOOR T-VORM, GEBOGEN GLAS,
VLAKKE GLASMODELLEN):
Air deflector wordt genoemd, zoals opgenomen en niet optioneel.
1.Buig vóór installatie beide uiteinden van de beugel zoals hieronder getoond:
2.Bevestig de beugel op de T-vormige plastic uitlaat met meegeleverde 2
stuks ST3,5x12mm schroeven.
3. Boor 2 gaten voor de muurpluggen, schroef vervolgens de beugel o p de
muur met de meegeleverde 2 stuks ST4x30mm schro even.
289

Table of Contents

Related product manuals