EasyManua.ls Logo

Candy CVMA90N - Page 328

Candy CVMA90N
359 pages
Print Icon
To Next Page IconTo Next Page
To Next Page IconTo Next Page
To Previous Page IconTo Previous Page
To Previous Page IconTo Previous Page
Loading...
3
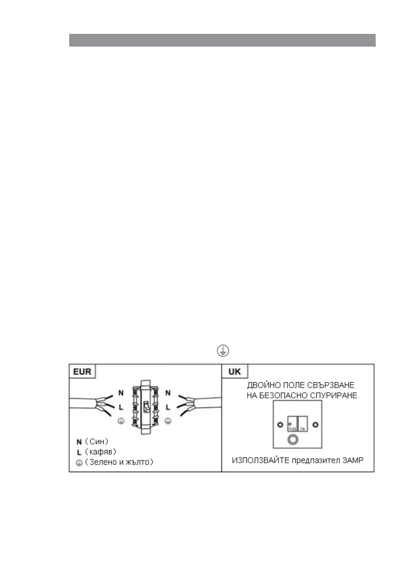
Предпазителят трябва да е с 3 ампера.
Директна връзка
Уредът трябва да бъде свързан директно към
електрическата мрежа с помощта на всеполюсен
прекъсвач с минимално отваряне между 3 мм контактите .
Инсталаторът трябва да се увери , че правилната
електрическа връзка има направена и че тя съответства на
схемата на окабеляване .
Кабелът не трябва да бъде огънат или компресиран .
Редовно проверявайте щепсела и захранващия кабел за
повреди . Ако захранващият кабел е повреден , той трябва
да бъде заменен със специален кабел или монтаж на
разположение от производителя или неговия сервизен
агент.
Електрическа инсталация
Цялата инсталация трябва да се извърши от компетентно
лице или
квалифицирано лице електротехник . Преди да
свържете захранването се уверете , че мрежата
напрежението съответства на напрежението на табелата с
маркировка .
ВНИМАНИЕ: Това е уред от клас I и ТРЯБВА да се заземи
Този уред е снабден с трижилен захранващ кабел , оцветен
като следва :
кафяв =L или на живо
Син = N или неутрален
Зелено и жълто = E или Земя
327

Table of Contents

Related product manuals