EasyManua.ls Logo

Candy CVMA90N - Page 5

Candy CVMA90N
359 pages
Print Icon
To Next Page IconTo Next Page
To Next Page IconTo Next Page
To Previous Page IconTo Previous Page
To Previous Page IconTo Previous Page
Loading...
3
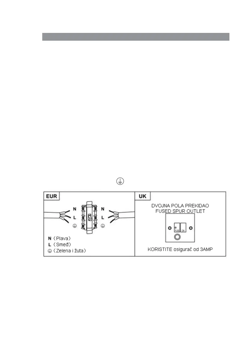
Izravna veza
Uređaj mora biti izravno priključen na mrežnu mrežu pomoću antene
omnipolarni prekidač s minimalnim otvorom 3 mm između kontakti.
Instalacijski program mora osigurati ispravnu električnu vezu
napravljeno i da je u skladu s dijagramom ožičenja
Kabel ne smije biti savijen ili stisnut.
Redovito provjeravajte da li ima utikača i kabela za napajanje. Ako
oštećen je opskrbni kabel, mora se zamijeniti posebnim kabelom ili
montaža dostupna od proizvođača ili njegovog zastupnika.
UPOZORENJE: Ovo je aparat klase I, MORAJU ga uzemljiti
Uređaj je opremljen mrežnim kabelom s tri jezgre u boji na sljedeći
način:
Smeđ = L ili Uživo
Plava = N ili neutralan
Zelena i žuta = E ili Zemlja
Osigurač mora biti nazivan 3 Ampera.
Električne instalacije
Svu ugradnju mora izvesti stručna osoba ili kvalificirana osoba
električar. Prije spajanja napajanja osigurajte napajanje napon
odgovara naponu na natpisnoj pločici.
4

Table of Contents

Related product manuals