EasyManua.ls Logo

Candy CVMA90N - Page 97

Candy CVMA90N
359 pages
Print Icon
To Next Page IconTo Next Page
To Next Page IconTo Next Page
To Previous Page IconTo Previous Page
To Previous Page IconTo Previous Page
Loading...
3
Direkte Verbindung
Das Gerät muss direkt mit dem Stromnetz verbunden werden
allpoliger Leistungsschalter mit einer Mindestöffnung von 3 mm
zwischen die Kontakte.
Der Installateur muss sicherstellen, dass der elektrische Anschluss
korrekt ist hergestellt wurde und dem Schaltplan entspricht.
Das Kabel darf nicht geknickt oder zusammengedrückt werden.
Überprüfen Sie den Netzstecker und das Netzkabel regelmäßig auf
Beschädigungen. Wenn das Netzkabel beschädigt ist, muss es
durch ein spezielles Kabel oder ersetzt werden Baugruppe beim
Hersteller oder seinem Servicevertreter erhältlich.
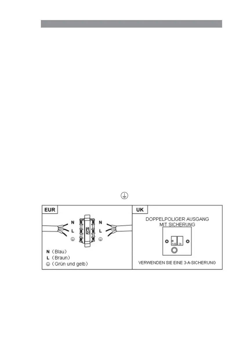
WARNUNG: Dies ist ein Gerät der Klasse I und MUSS geerdet sein
Dieses Gerät wird mit einem 3-adrigen Netzkabel geliefert, das in der
Farbe folgt:
Braun = L Oder Leben
Blau = N Oder Neutral
Grün und gelb = E Oder Erde
Die Sicherung muss für 3 Ampere ausgelegt sein.
Elektroinstallation
Alle Installationen müssen von einer kompetenten oder
qualifizierten Person durchgeführt werden Elektriker. Stellen Sie
vor dem Anschließen der Netzspannung sicher, dass die
Netzspannung vorhanden ist spannung entspricht der spannung
auf dem typenschild.
96

Table of Contents

Related product manuals