EasyManua.ls Logo

Carrier 19XL - Page 12

Carrier 19XL
100 pages
To Next Page IconTo Next Page
To Next Page IconTo Next Page
To Previous Page IconTo Previous Page
To Previous Page IconTo Previous Page
Loading...
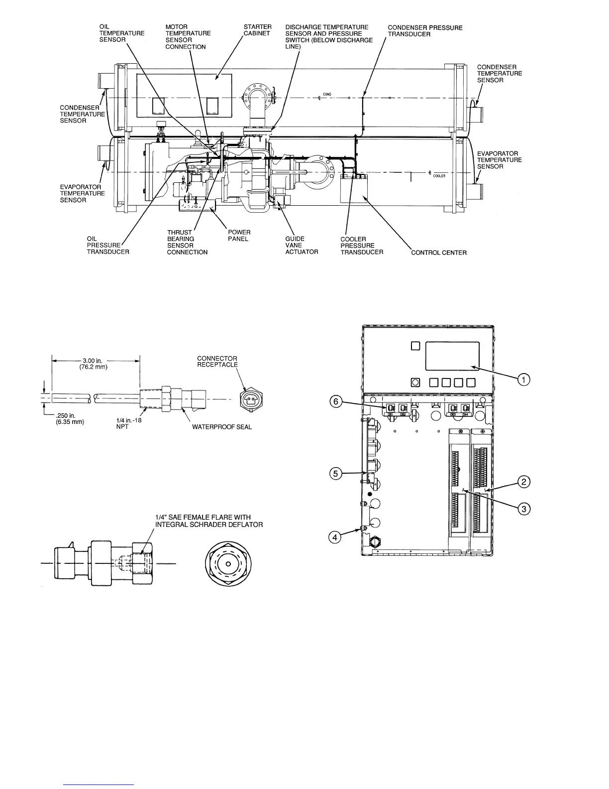
Fig. 8 19XL Controls and Sensor Locations
Fig. 9 Control Sensors
(Temperature)
Fig. 10 Control Sensors
(Pressure Transducer, Typical)
LEGEND
1—LID
2—PSIO
3—8-Input Module (One of 2 Available)
4—5-Volt Transducer Power Supply
5—6-Pack Relay Board
6—Circuit Breakers (4)
Fig. 11 Control Center (Front View),
with Options Module
12

Table of Contents

Other manuals for Carrier 19XL

Related product manuals