EasyManua.ls Logo

Carrier 38MARBQ12AA1 - Page 21

Carrier 38MARBQ12AA1
116 pages
To Next Page IconTo Next Page
To Next Page IconTo Next Page
To Previous Page IconTo Previous Page
To Previous Page IconTo Previous Page
Loading...
SG-38MARB-01 Specifications subject to change without notice. 21
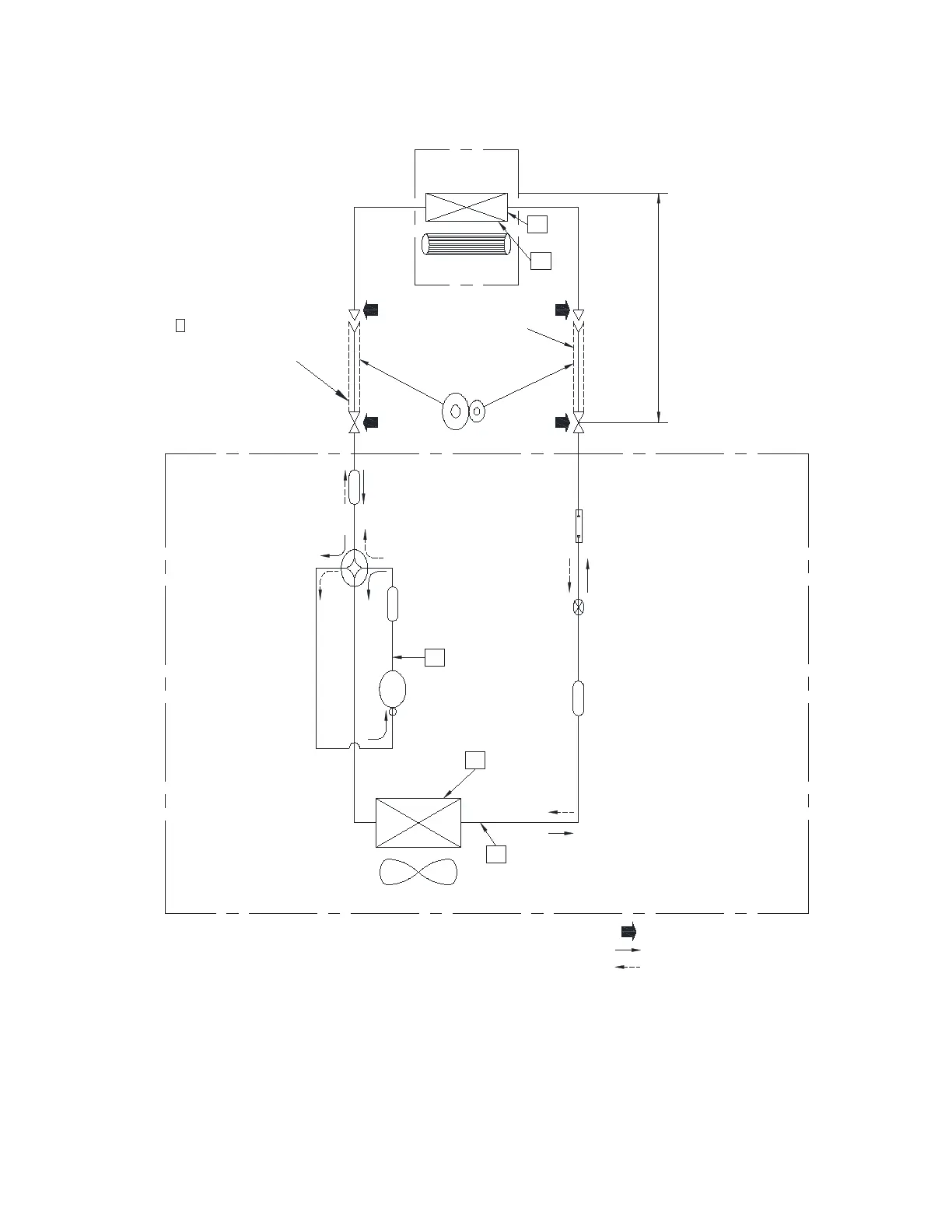
REFRIGERATION CYCLE DIAGRAMS (CONT)
Fig. 20 — Refrigerant Cycle Diagram 36K (208/230V)
7
7
73
7
7
,1'22581,7
,QGRRUKHDW
H[FKDQJHU
&URVVIORZIDQ
'HD[LGL]HGFRSSHUSLSH
2XWHUGLDLQ
PP
7KLFNQHVVLQ

PP
^
^
6HFWLRQDOVKDSH
RIKHDWLQVXODWRU
$OORZDEOHKHLJKW
GLIIHUHQFHIWP
$OORZDEOHSLSHOHQJWK
3XOVH0RGXODWLQJ
9DOYHDWOLTXLGVLGH
6WUDLQHU
3URSHOOHUIDQ
2XWGRRUKHDW
H[FKDQJHU
&RPSUHVVRU
PRGHOQXPEHU.7)'807
0XIIOHU
ZD\YDOYH
0XIIOHU
'HD[LGL]HGFRSSHUSLSH
2XWHUGLDLQ
PP
7KLFNQHVVLQPP
^
^
3
3UHVVXUHPHDVXUHPHQW
*DXJHDWWDFKLQJSRUW
9DFFXPSXPSFRQQHFWLQJSRUW
5HIQJHUDQWDPRXQWOEVNJ
287'22581,7
127(*DVOHDNFKHFNSRVLWLRQ
5HIULJHUDQWIORZ&RROLQJ
5HIULJHUDQWIORZ+HDWLQJ
7KURWWOHRULILFH
Max: 213.3 ft (65 m)
Min: 10 ft (3m)
No adjustment: 25 ft (7.5 m)
Charge (greater than 25 feet 0.32 oz/ft)

Table of Contents

Related product manuals