EasyManua.ls Logo

Casio 3260 - Page 8

Casio 3260
13 pages
Print Icon
To Next Page IconTo Next Page
To Next Page IconTo Next Page
To Previous Page IconTo Previous Page
To Previous Page IconTo Previous Page
Loading...
Operation Guide 3260 3280
E-70
Pressing
A
while the Bearing Memory direction angle value and Bearing
Memory pointer are on the display will clear the Bearing Memory data you
saved in step 3 and save the current direction reading in Bearing Memory.
Note
When mountain climbing or hiking, conditions or geographic contours may
make it impossible for you to advance in a straight line. If this happens, return
to step 1 and save a new direction to the objective.
Digital Compass Precautions
This watch features a built-in magnetic bearing sensor that detects terrestrial
magnetism. This means that north indicated by this watch is magnetic north, which is
somewhat different from true polar north. The magnetic north pole is located in
northern Canada, while the magnetic south pole is in southern Australia. Note that the
difference between magnetic north and true north as measured with all magnetic
compasses tends to be greater as one gets closer to either of the magnetic poles. You
should also remember that some maps indicate true north (instead of magnetic north),
and so you should make allowances when using such maps with this watch.
E-71
Location
Taking a direction reading when you are near a source of strong magnetism can
cause large errors in readings. Because of this, you should avoid taking direction
readings while in the vicinity of the following types of objects: permanent magnets
(magnetic necklaces, etc.), concentrations of metal (metal doors, lockers, etc.),
high tension wires, aerial wires, household appliances (TVs, personal computers,
washing machines, freezers, etc.).
Accurate direction readings are impossible while in a train, boat, air plane, etc.
Accurate readings are also impossible indoors, especially inside ferroconcrete
structures. This is because the metal framework of such structures picks up
magnetism from appliances, etc.
Storage
The precision of the bearing sensor may deteriorate if the watch becomes
magnetized. Because of this, you should store the watch away from magnets or any
other sources of strong magnetism, including: permanent magnets (magnetic
necklaces, etc.) and household appliances (TVs, personal computers, washing
machines, freezers, etc.).
E-72
Whenever you suspect that the watch may have become magnetized, perform the
procedure under “To perform bidirectional calibration” (page E-58).
E-73
Thermometer
This watch uses a temperature sensor to take temperature readings.
The watch also takes direction readings in the Digital Compass/Thermometer
Mode. For more information, see “Digital Compass” (page E-49).
To enter and exit the Digital Compass/Thermometer
Mode
1. Press
C
to enter the Digital Compass/Thermometer
Mode.
Press
C
to take another reading.
2. Press
D
to return to the mode you entered the Digital
Compass/Thermometer Mode from.
The watch will automatically return to the mode you
entered the Digital Compass/Thermometer Mode
from if you do not perform any operation for about
one or two minutes.
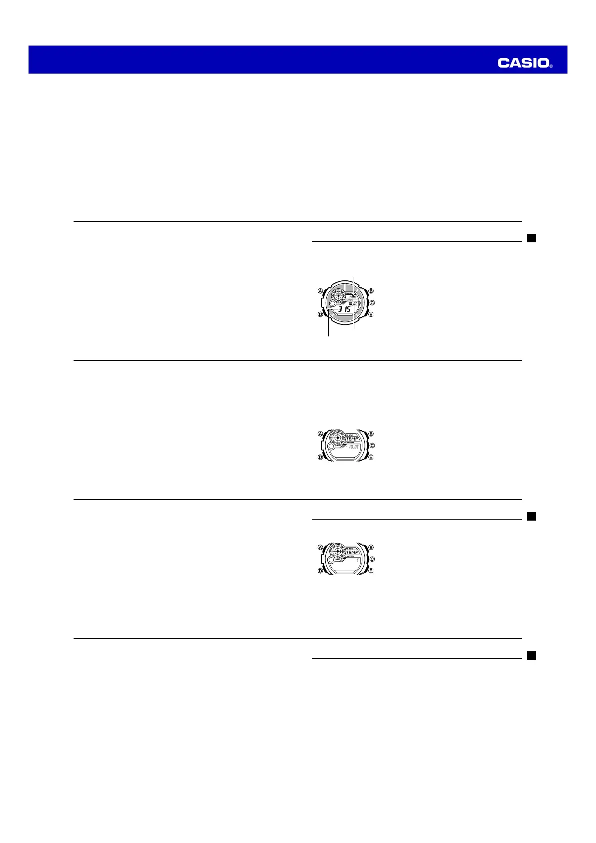
Temperature
Direction indicator
Angle value (in degrees)
Temperature
Direction indicator
Angle value (in degrees)
E-74
Temperature
Temperature is displayed in units of 0.1°C (or 0.2°F).
The displayed temperature value changes to
- - -
°C (or °F) if a measured
temperature falls outside the range of –10.0°C to 60.0°C (14.0°F to 140.0°F). The
temperature value will reappear as soon as the measured temperature is within the
allowable range.
Display Units
You can select either Celsius (°C) or Fahrenheit (°F) for the displayed temperature
value. See “To specify the temperature unit” (page E-77) for more information.
Temperature Sensor Calibration
The watch’s temperature sensor is calibrated at the factory and normally requires no
further adjustment. If you notice serious errors in the temperature readings produced
by the watch, you can calibrate the sensor to correct the errors.
E-75
Important!
Incorrectly calibrating the temperature sensor can result in incorrect readings.
Carefully read the following before doing anything.
– Compare the readings produced by the watch with those of another reliable and
accurate thermometer.
– If adjustment is required, remove the watch from your wrist and wait for 20 or 30
minutes to give the temperature of the watch time to stabilize.
To calibrate the temperature sensor
1. Press
C
to enter the Digital Compass/Thermometer
Mode.
2. Hold down
A
until the current magnetic declination
correct values (page E-56) starts to flash on the display.
This is the setting screen.
3. Press
D
three times.
TEMP will appear on the display along with the
current temperature calibration value.
l
l
l
l
l
l
l
l
l
l
l
l
l
l
l
l
l
l
l
l
l
l
l
l
E-76
4. Use
E
(+) and
B
(–) to change the displayed calibration by 0.1°C (0.2°F) steps.
To return the currently flashing value to its initial factory default setting,
press
E
and
B
at the same time. OFF will appear in place of the flashing
temperature value for about one second, followed by the initial default value.
5. Press
A
to return to the Digital Compass/Thermometer Mode screen, and then
take direction and temperature readings.
Thermometer Precautions
Temperature measurements are affected by your body temperature (while you are
wearing the watch), direct sunlight, and moisture. To achieve a more accurate
temperature measurement, remove the watch from your wrist, place it in a well
ventilated location out of direct sunlight, and wipe all moisture from the case. It
takes approximately 20 to 30 minutes for the case of the watch to reach the actual
surrounding temperature.
E-77
Specifying Temperature Unit
Use the procedure below to specify the temperature unit to be used in the Digital
Compass/Thermometer Mode.
Important!
When
TOKYO
is selected as the Home City, the
temperature unit is set automatically to Celsius (
°C
).
These settings cannot be changed.
To specify temperature unit
1. In the Timekeeping Mode, hold down
A
until
SET
starts to flash and the city name starts to scroll on the
display.
This is the setting screen.
l
l
l
l
l
l
l
l
l
l
l
l
l
l
l
l
l
l
l
l
E-78
2. Press
D
as many times as necessary until
TEMP
is displayed.
See step 3 under “To change the current time and date settings manually” (page
E-45) for information about how to scroll through setting screens.
3. Press
D
to toggle the temperature unit between
°C
(Celsius) and
°F
(Fahrenheit).
4. After the setting is the way you want, press
A
to exit the setting screen.
E-79
Temperature Reading Precautions
When taking temperature readings, it is best to remove the watch from your wrist in
order to eliminate the effects of body heat. Remove the watch from your wrist and
allow it to hang freely from your bag or in another location where it is not exposed to
direct sunlight.

Related product manuals