EasyManua.ls Logo

cecotec Ready Warm 5250 - Operation; Control Panel Overview; Remote Control Overview

cecotec Ready Warm 5250
Print Icon
To Next Page IconTo Next Page
To Next Page IconTo Next Page
To Previous Page IconTo Previous Page
To Previous Page IconTo Previous Page
Loading...
ENGLISH
22 READY WARM 5250 SWING BOX CERAMIC
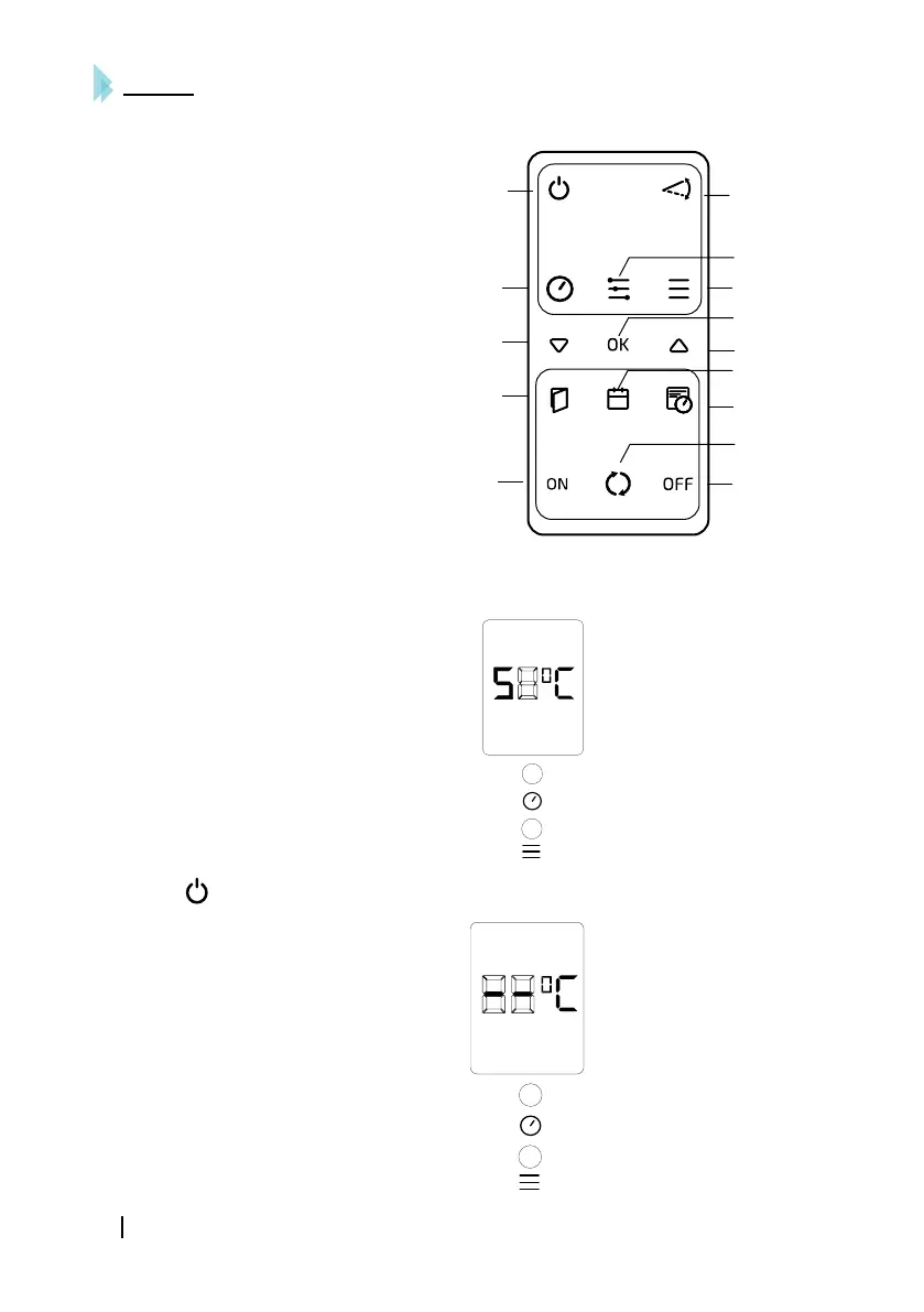
REMOTE CONTROL
1. Power button
2. Timer
3. Less
4. Open window mode
5. Check turn-on time
6. Settings
7. Check turn-off time
8. Weekly schedule
9. More
10. Modes
11. Oscillation
12. Day
13. Ok
14. Set
HEATING
Press the red power switch to turn the device on. The product will enter standby mode
and the display will show:
Press
the product will enter fan mode and will show ”- -“ on the display.
1
2
3
4
5
6
7
8
9
10
11
12
13
14

Related product manuals