EasyManua.ls Logo

CFMoto 650NK - Page 256

Default Icon
442 pages
Print Icon
To Next Page IconTo Next Page
To Next Page IconTo Next Page
To Previous Page IconTo Previous Page
To Previous Page IconTo Previous Page
Loading...
9-10 CRANKSHAFT/TRANSMISSION
Crankcase Splitting
Crankcase Splitting
Remove:
Engine (see Engine Removal in the Engine
Removal/Installation chapter)
Cylinder (see Cylinder Removal in the Engine
Top End chapter)
Pistons (see Piston Removal in the Engine Top
End chapter)
Stater Motor (see Starter Motor Removal in the
Electrical System chapter)
Clutch (see Clutch Removal in the Clutch
chapter)
Transmission Assy (see Transmission Assy
Removal)
Alternator Rotor (see Alternator Rotor Re
moval in the Electrical System chapter)
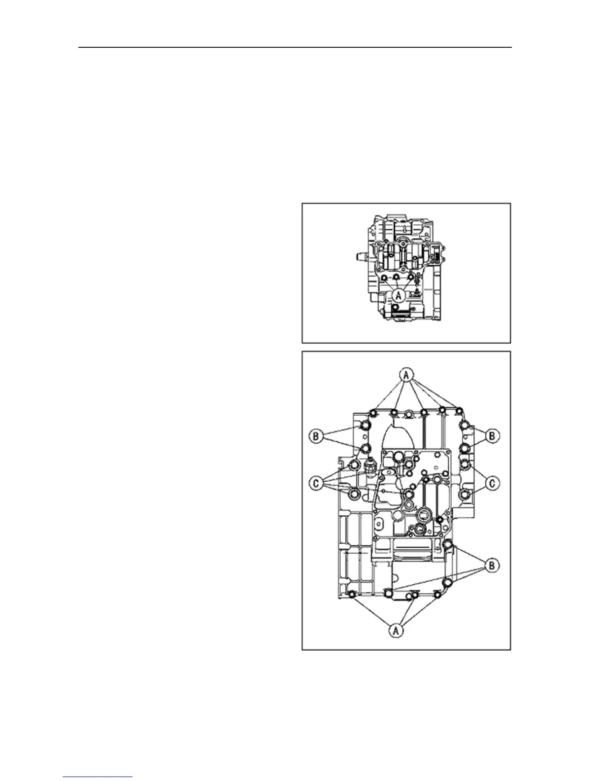
Remove the upper crankcase bolts [A] and the
washers.
Remove the oil pan, relief valve, oil screen and
oil pipes (see Oil Pan Removal in the Engine
Lubrication System chapter).
Remove the lower crankcase bolts.
Firstly loosen the M7 bolts, secondly the M8 bolts
and lastly the M9 bolts.
M7 Bolts [A]
M8 Bolts [B]
M9 Bolts [C] and Washers

Related product manuals