EasyManua.ls Logo

Chef cooking CFE532WA - Cleaning the Oven Door; Oven Door Glass Removal and Reassembly

Chef cooking CFE532WA
28 pages
Print Icon
To Next Page IconTo Next Page
To Next Page IconTo Next Page
To Previous Page IconTo Previous Page
To Previous Page IconTo Previous Page
Loading...
general hints and tips
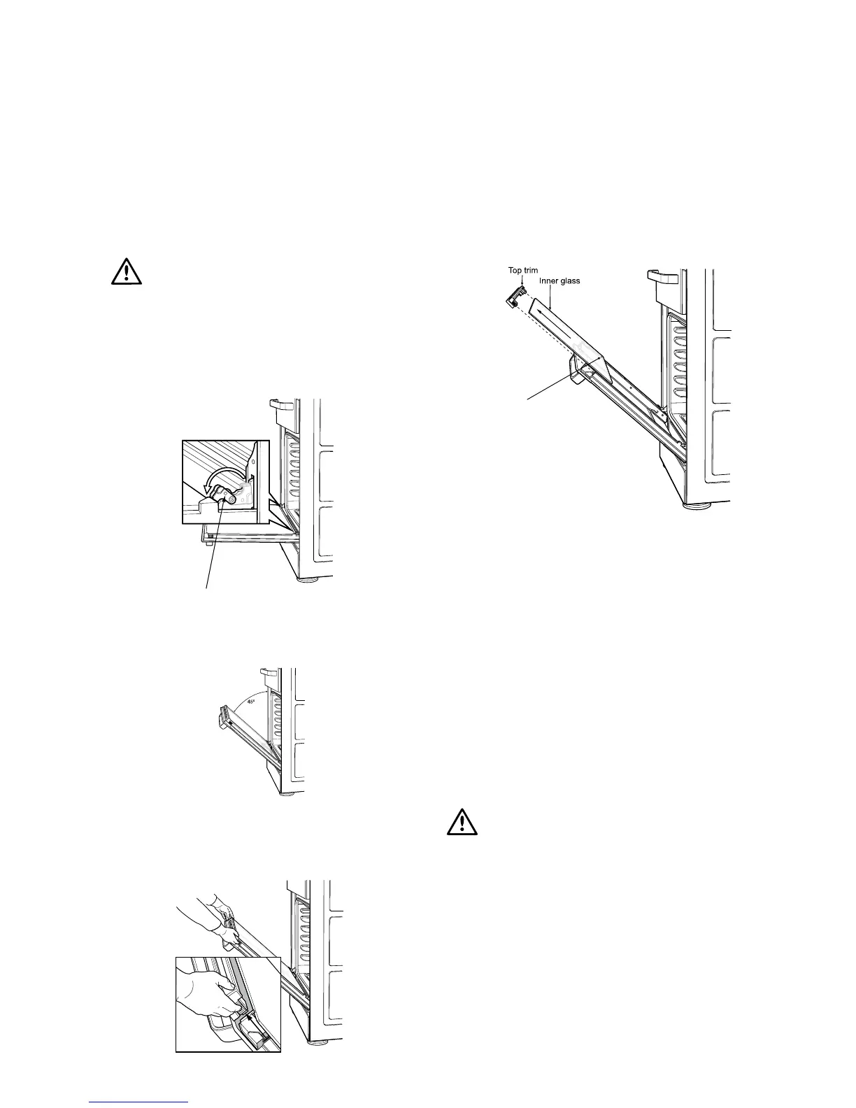
Cleaning the Oven Door
Cool air circulates through the door to lower the surface
temperature on the outside of the oven door.
•
WARNING
Do not remove the oven door
• Thisproducthasaremovableinnerdoorglass.
To remove the inner door glass for cleaning
• Open the door fully to access the hinges then rotate
the “stirrups” on both hinges fully towards the door.
Stirrup
• Slowly close the door until it stops against the ‘stirrups’
(about 45°)
• To remove the top trim, press the ribbed release clips at
each end and lift top trim away from the door
• Using both hands, gently remove the inner glass by
sliding out and lifting away from the door
The black dot to be
located on the lower
left hand corner
where applicable
• Wipe inner and outer glass gently with detergent and
warm water
• Wipe clean and dry thoroughly.
DoorInnerGlass–Theblackdottobelocatedonthe
lower left hand corner
Re-Assembling the oven door inner glass
• Replace the inner glass back to the door with the black
dot located on the lower left hand corner where applicable
• Replace the top trim ensuring the clips snap back
into position
• Fully open the door, rotate the stirrups back to their
original position and close the door.
WARNING
warning
DO NOT use the oven without the inner door glass fitted.
DO NOT use harsh abrasives on glass as this may damage
the glass
DO NOT place glass in dishwasher.
Hand wash only with a soft cloth and warm soapy water.
When dry, polish with a soft cloth and ensure the glass is dry
before re-assembly.
12 GENERAL HINTS AND TIPS Chef 540 Upright Cooker

Related product manuals