EasyManua.ls Logo

Chef cooking CFE533WB - Gas Conversion Instructions; Conversion to LP;Propane Gas; Gas Hob Conversion; Gas Grill and Oven Conversion

Default Icon
36 pages
Print Icon
To Next Page IconTo Next Page
To Next Page IconTo Next Page
To Previous Page IconTo Previous Page
To Previous Page IconTo Previous Page
Loading...
Chef 540 Upright Cooker 11
Conversion to LP/Propane Gas
For conversion to Universal LPG/propane gas types, all gas
injectors need to be changed, all gas valves are adjusted,
the gas regulator is converted, and the gas grill burner
aeration shutter is changed where the gas grill is provided.
After converting the appliance, attach the ULPG or Propane
sticker to the cooker, near the gas supply inlet. Cover the
Natural Gas label that is factory fitted.
Important: The conversion must be performed by a
qualified service technician in accordance with the kit
instructions and all local codes and requirements. Failure to
follow instructions could result in serious injury or property
damage.
W
WARNING
Failure to make the appropriate conversion can result in
serious personal injury and property damage.
Note: Always perform a gas leak test after converting the
appliance.
Gas Hob Conversion
Tools required:
7mm hex socket screwdriver or 7mm nut runner.
Small flat-blade screwdriver.
1. Remove trivets/pan supports, burner crown, and top
caps from burner bases.
2. Using a 7mm socket, remove Natural Gas injectors.
3. Using the Injector table and hob layout diagram, select
the correct gas injector for each burner and intended gas
type.
4. Using a 7mm socket, screw in gas injectors. Set injectors
in place firmly but not with excessive torque.
5. Reinstate trivets/pan supports, burner crown, and top
caps ensuring that these components are sitting correctly
on their respective lower parts.
6. If Gas Separate Grill is provided, please go to “Gas
Separate Grill Conversion”, otherwise proceed to the
next step.
7. Remove all control knobs on the front of the cooker by
gripping each knob behind its skirt and pulling away
from the control panel.
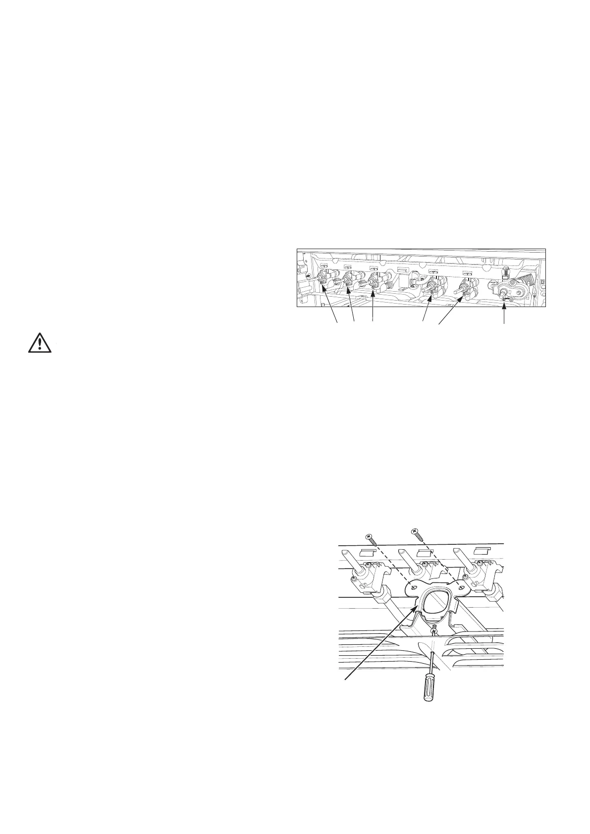
8. Locate the recessed turndown adjustment screw in each
gas valve, insert the screwdriver, and turn the adjustment
screw clockwise until the screw stops.
Note: If a Gas Oven is present its control can be
adjusted the same way. If access to adjustment screws
is not clear, see “Gas Separate Grill Conversion”
instructions on how to remove the control panel.
22300
M
Adjustment screws at each gas valve
for hob and gas grill where fitted
Adjustment screw for oven
thermostat where fitted
Note: If the thermostat body is brass (dull yellow colour),
replace the existing adjustment screw with the LPG adjustment
screw supplied in the conversion kit and turn the screw
clockwise until the screw stops. If the thermostat body is all
aluminium (silvery white colour), turn the existing adjustment
screw clockwise until the screw stops. If the conversion kit is
not available, please reach out to our Customer Care team at
131349 (if you are in Australia) or 0800436245 (if you are
in New Zealand) or by email.
9. Install control knobs (with separate skirts where used) by
pushing them on fully.
Gas Separate Grill Conversion (Where used)
Grill shutter
Gas conversion instructions

Related product manuals