EasyManua.ls Logo

Cisco Nexus 3000 series - Grounding the Chassis

Cisco Nexus 3000 series
90 pages
To Next Page IconTo Next Page
To Next Page IconTo Next Page
To Previous Page IconTo Previous Page
To Previous Page IconTo Previous Page
Loading...
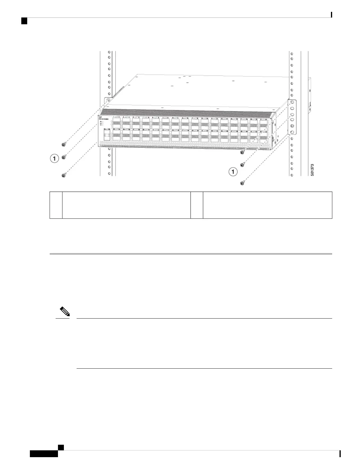
Three customer-supplied screws (typically M6 x 10
mm screws or the appropriate screws for the rack) to
hold each side of the chassis to the two-post rack.
1
Step 5 Use the second person to secure the three customer-supplied rack-mount screws (typically M6 x 10 mm or other appropriate
screws for the rack) on each center-mount bracket to attach the chassis to the rack. Tighten each screw to the appropriate
torque setting for the screws (for M6 x 10 mm screws, use 40 in-lbs [4.5 N·m] of torque).
Grounding the Chassis
The switch chassis is automatically grounded when you properly install the switch in a grounded rack with
metal-to-metal connections between the switch and rack.
An electrical conducting path shall exist between the product chassis and the metal surface of the enclosure
or rack in which it is mounted or to a grounding conductor. Electrical continuity shall be provided by using
thread-forming type mounting screws that remove any paint or non-conductive coatings and establish a
metal-to-metal contact. Any paint or other non-conductive coatings shall be removed on the surfaces between
the mounting hardware and the enclosure or rack. The surfaces shall be cleaned and an antioxidant applied
before installation.
Note
You can also ground the chassis, which is required if the rack is not grounded, by attaching a customer-supplied
grounding cable. Attach the cable to the chassis grounding pad and the facility ground.
Cisco Nexus 3000 Series Hardware Installation Guide
48
Installing the Chassis
Grounding the Chassis

Table of Contents

Other manuals for Cisco Nexus 3000 series

Related product manuals