EasyManua.ls Logo

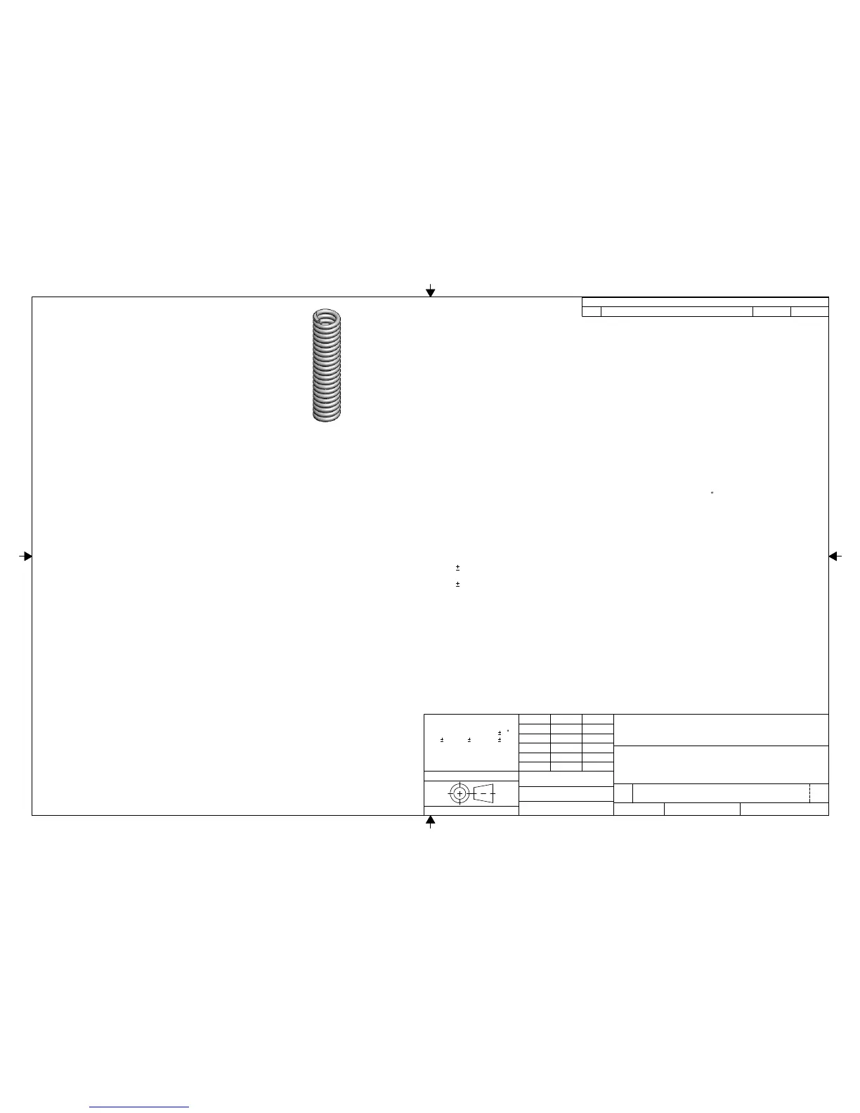
colt 1911 - Mainspring

Default Icon
59 pages
Print Icon
To Next Page IconTo Next Page
To Next Page IconTo Next Page
To Previous Page IconTo Previous Page
To Previous Page IconTo Previous Page
Loading...
5013208
HEAT TREAT
SEE NOTE 2
08/31/2010
R Benson
THIRD ANGLE PROJECTION
DIM & TOL IAW ASME Y14.5 - 1994.
ANY REPRODUCTION IN PART OR AS A WHOLE WITHOUT THE WRITTEN PERMISSION OF
ENGRG
DRAWN
MODELED
IS PROHIBITED.
SHEET 1 of 1
WEIGHT: 0.01 LBSCALE: 2:1
X
MUSIC WIRE, STEEL, ASTM A228
Benson Consulting, LLP
Benson Consulting, LLP.
1st MADE FOR: M1911-A1 REDUX
MAINSPRING
B
08/23/2010 R Benson
DO NOT SCALE DRAWING
THE INFORMATION CONTAINED IN THIS DRAWING IS THE SOLE AND INTELLECTUAL PROPERTY OF
1-704-860-1202
Benson Consulting, LLP
REV
DWG NO
SIZE
TITLE
FINISH
MATERIAL
DATEBY
QA
MFG
rhbenson@earthlink.net Gastonia, NC 28054
UNLESS OTHERWISE SPECIFIED:
DIMENSIONS ARE IN INCHES.
TOLERANCE: ANGULAR .5 ,
2 PL .01, 3 PL .005, 4 PL .0005,
SYMM & CONC: 1/2 FEATURE TOL.
FAB FINISH: 125 MICROINCH.
BRK/FIL SHARP COR .005 MAX.
MODEL IS SHOWN COMPRESSED FOR ASSEMBLY
CRIMP BOTH END COILS TO ...................................... .160 +.008 -.000 ID
STRESS RELIEVE AT 450
*EXCEPT FOR CRIMPED ENDS: CHECK AT A STAGE OF MANUFACTURE
OR BY CUTTING OFF CRIMP IN SAMPLE.
F FOR 202.
SOLID LENGTH ............................................................. .968 MAX
TYPE OF ENDS ............................................................. CLOSED, SQUARED & GROUND
SPRING RATE ............................................................... (27.69 LB/INCH)
MINUTES AFTER FORMING.
ROD DIA OVER WHICH SPRING SLIDES FREELY .... .174 MAX*
2.0 LB
DIAMETER OF WIRE ..................................................... .045
DIAMETER OF COIL (OD) ............................................. .273 +.000 -.003
FREE LENGTH ............................................................. (2.156)
ACTIVE COILS ............................................................... 19.5
TOTAL COILS ................................................................ 21.5
DIRECTION OF HELIX ................................................... CCW
LOAD AT COMPRESSED LENGTH OF ........................ 1.312 = 22.0 2.0 LB
LOAD AT COMPRESSED LENGTH OF ........................ 1.062 = 29.5
NOTES:
MANUFACTURE IAW TYPE 1, GRADE A, 1.
OF SAE AS 13572.
REVISION HISTORY
REV DESCRIPTION DATE APPRVD