EasyManua.ls Logo

Commodore 8250LP - VIII. INTERFACE; Recommended Erase Coil Interface

Commodore 8250LP
22 pages
Print Icon
To Next Page IconTo Next Page
To Next Page IconTo Next Page
To Previous Page IconTo Previous Page
To Previous Page IconTo Previous Page
Loading...
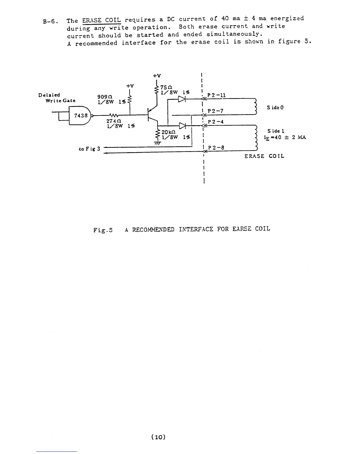
B-6.
The
ER~SE
COIL
requires
a
DC
curren~
of
40
ma
± 4 ma
energized
during
any
write
operation.
Both
erase
current
and
write
current
should
be
started
and
ended
simultaneously.
A
recommended
interface
for
the
erase
coil
is
sho~n
in
figure
5.
Delaied
Wri
te
Gate
90gn
1/8W
l~
+v
~
A,~
__
~
__
~
~;4n
1/8W
l~
+v
to
Fig
3
______________
-.1
oE------.-.i
S
id~
0
I
I
I
I
P2-8
c::
Side
1
1£=40
::: 2
MA
ERASE
COIL
Fig.5
A
RECO~!}IE.'mED
INTERFACE FOR EAHSE
COIL
(10)

Related product manuals