EasyManua.ls Logo

Continental Electronics 816R - Page 12

Default Icon
44 pages
Print Icon
To Next Page IconTo Next Page
To Next Page IconTo Next Page
To Previous Page IconTo Previous Page
To Previous Page IconTo Previous Page
Loading...
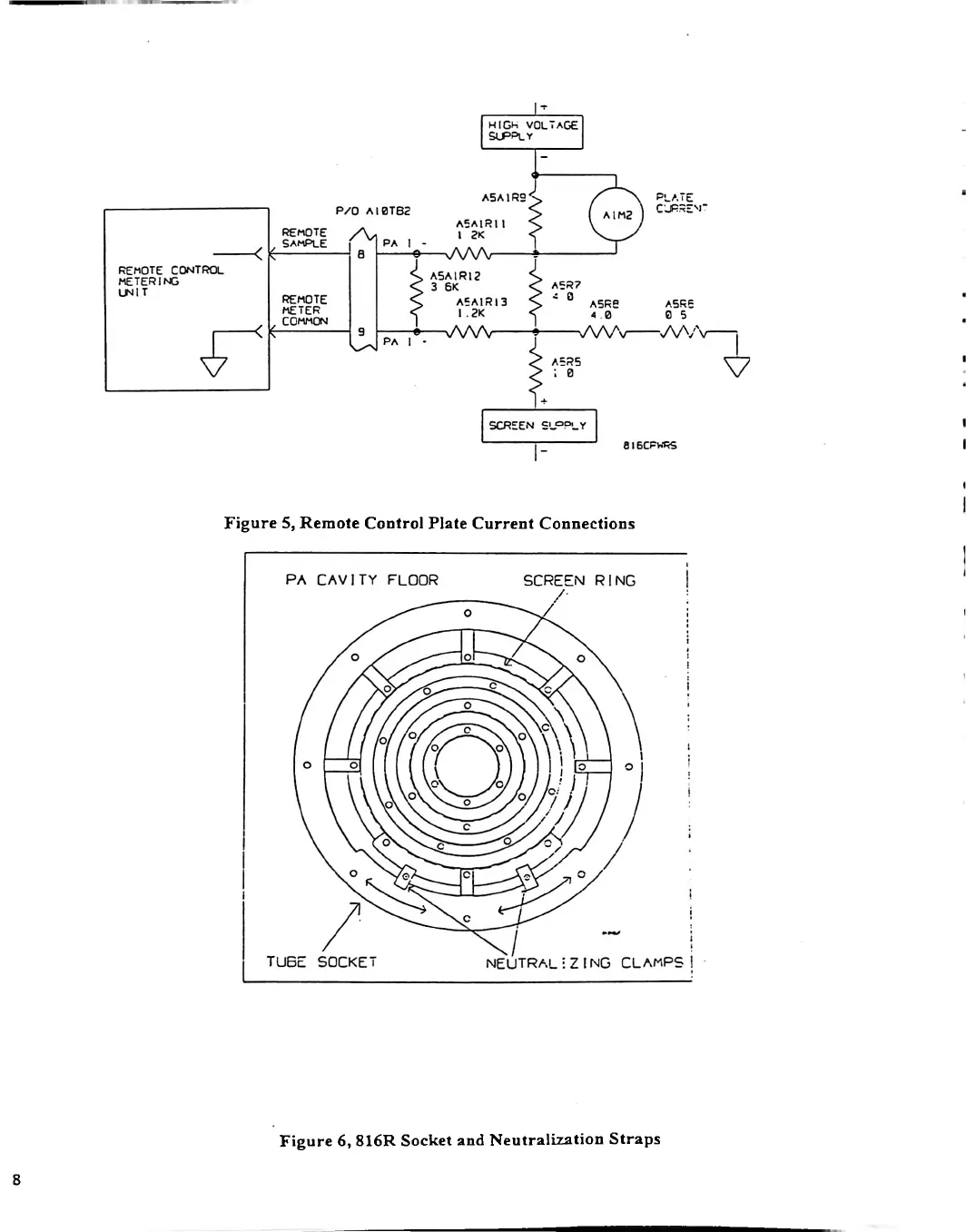
Figure
5,
Remote
Control
Plate
Current
Connections
Figure
6,
816R
Socket
and
Neutralization
Straps
8