EasyManua.ls Logo

Creative Engineering ROCK-A-FIRE EXPLOSION - Page 310

Default Icon
326 pages
Print Icon
To Next Page IconTo Next Page
To Next Page IconTo Next Page
To Previous Page IconTo Previous Page
To Previous Page IconTo Previous Page
Loading...
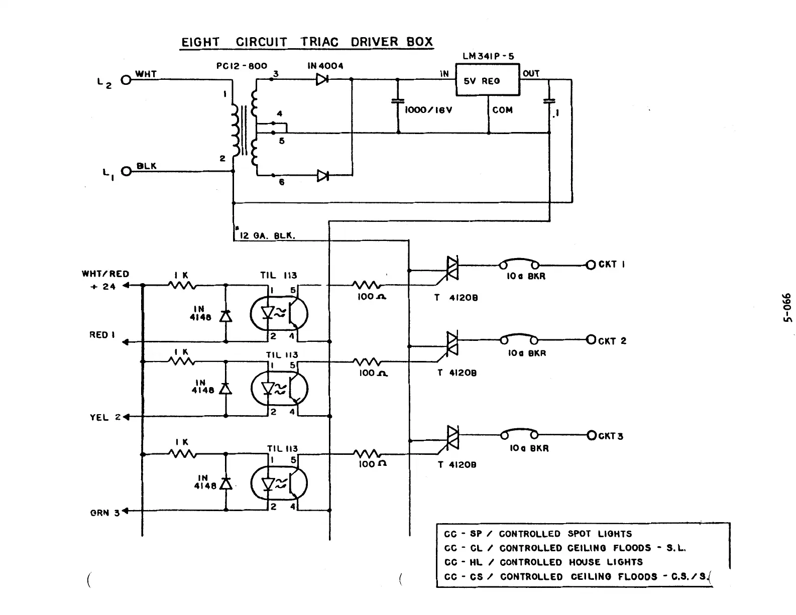
EIGHT CIRCUIT TRIAC DRIVER BOX
L2
Ll
WHT/RED
+
24
RED I
WHT
BLK
IK
IK
IN
4148
PC12-
800
2
6
12
GA. BLK.
TIL
113
YEL
24
I
~
I
OR
..
3
(
IK
IN
4148
IN4004
1oon
LM341P
-5
IN
OUT
5V
REG
I000/16V
COM
.I
-Q()--.()
lOa
8KR CKT I
T
41208
CKT 2
T
41208
CKT3
T
41208
CC
-
SP
/ CONTROLLED SPOT LIGHTS
CC -
CL
/ CONTROLLED
CEILING
FLOODS - S.
L.
CC
-
HL
/ CONTROLLED HOUSE
Ll
GHTS
CC-
CS / CONTROLLED
CEILING
FLOODS-
C.S./S~
\0
\0
0
I
1.1\