EasyManua.ls Logo

Dacor DRF36C000SR - Page 110

Dacor DRF36C000SR
252 pages
Print Icon
To Next Page IconTo Next Page
To Next Page IconTo Next Page
To Previous Page IconTo Previous Page
To Previous Page IconTo Previous Page
Loading...
Instalación
Español26
Instalación
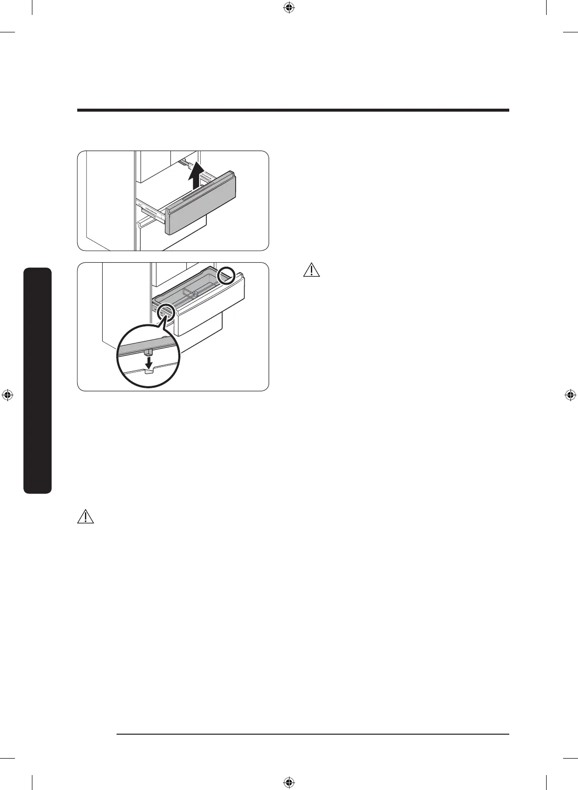
5. Levante el frente del cajón de la Zona
fresca para retirarlo del conjunto de riel.
PRECAUCIÓN
Tenga cuidado al retirar el conjunto de riel,
ya que podría caerse y dañar el piso.
Asegúrese de colocar el cajón de la Zona
fresca en su lugar después de retirar o
instalar la cesta de la Zona fresca. Es
posible que el cajón de la Zona fresca no se
abra o cierre correctamente si el cajón del
congelador no está colocado.
No almacene demasiados alimentos en
el cajón de la Zona fresca. Esto hará que
el cajón de la Zona fresca no se cierre
correctamente y se acumule escarcha.
Para colocar nuevamente el cajón de la Zona fresca
Una vez que haya instalado el refrigerador en su ubicación nal, vuelva a colocar el cajón de la
Zona fresca siguiendo las instrucciones para retirarlo en orden inverso.
PRECAUCIÓN
Si el cajón de la Zona fresca o el indicador no funcionan adecuadamente, asegúrese de que los
conectores estén bien conectados.
DACOR_RF8000MC_DA68-03563J-02_MES.indd 26 3/5/2020 7:14:33 PM

Table of Contents

Related product manuals