EasyManua.ls Logo

Dacor DRF36C000SR - Page 194

Dacor DRF36C000SR
252 pages
Print Icon
To Next Page IconTo Next Page
To Next Page IconTo Next Page
To Previous Page IconTo Previous Page
To Previous Page IconTo Previous Page
Loading...
Installation
Français26
Installation
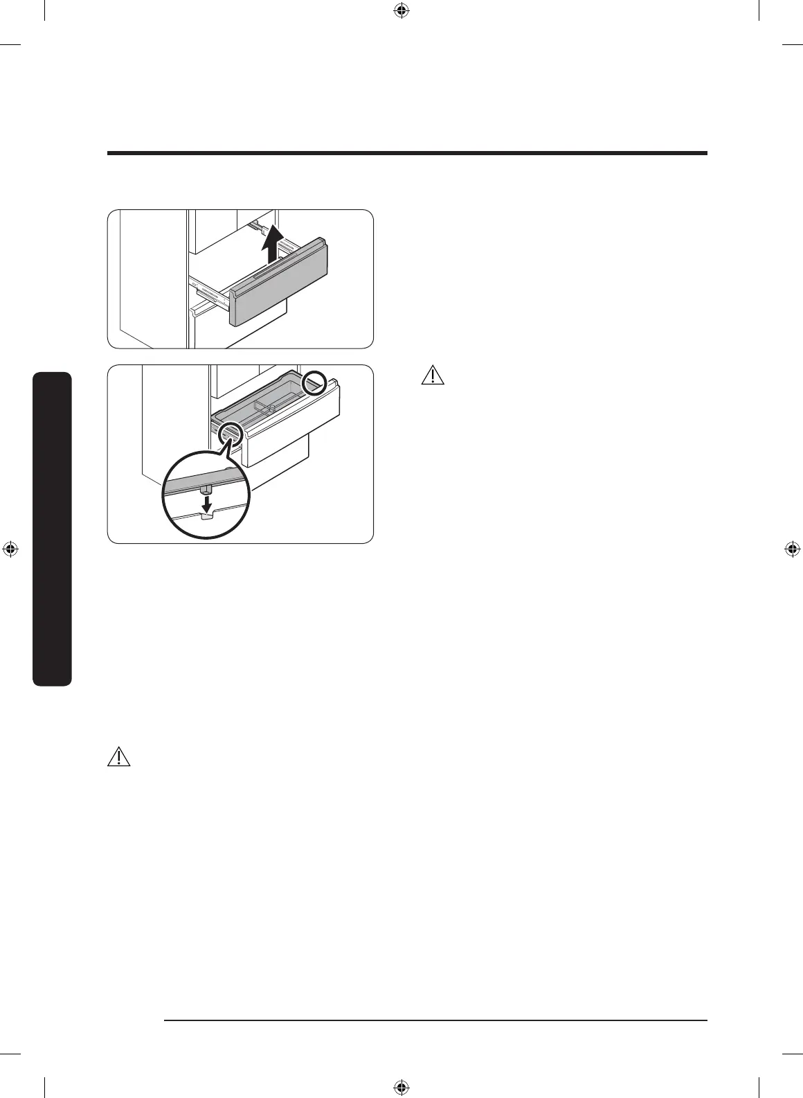
5. Levez la partie avant du tiroir de la Zone
fraîche des rails pour la retirer.
ATTENTION
Veillez à ne pas faire tomber les rails sur
le sol lors de leur retrait an d'éviter tout
dommage matériel.
Assurez-vous de mettre le tiroir de la Zone
fraîche à sa place après avoir retiré ou
monté le bac de la Zone fraîche. Le tiroir
de la Zone fraîche peut ne pas s'ouvrir ou
se fermer si le tiroir du congélateur n'est
pas en place.
Ne placez pas trop d'aliments dans le tiroir
de la Zone fraîche. La surcharge des bacs
peut gêner la fermeture du tiroir de la
Zone fraîche et entraîner une accumulation
de givre.
Remonter le tiroir de la Zone fraîche
Après avoir déplacé le réfrigérateur sur son emplacement nal, remontez le tiroir de la Zone
fraîche en suivant les instructions de retrait dans le sens inverse.
ATTENTION
Si la Zone fraîche ou le voyant ne fonctionne pas correctement, assurez-vous que les connecteurs
sont bien branchés.
DACOR_RF8000MC_DA68-03563J-02_CFR.indd 26 3/5/2020 7:15:51 PM

Table of Contents

Related product manuals