EasyManua.ls Logo

Dacor DRF36C000SR - Page 26

Dacor DRF36C000SR
252 pages
Print Icon
To Next Page IconTo Next Page
To Next Page IconTo Next Page
To Previous Page IconTo Previous Page
To Previous Page IconTo Previous Page
Loading...
Installation
English26
Installation
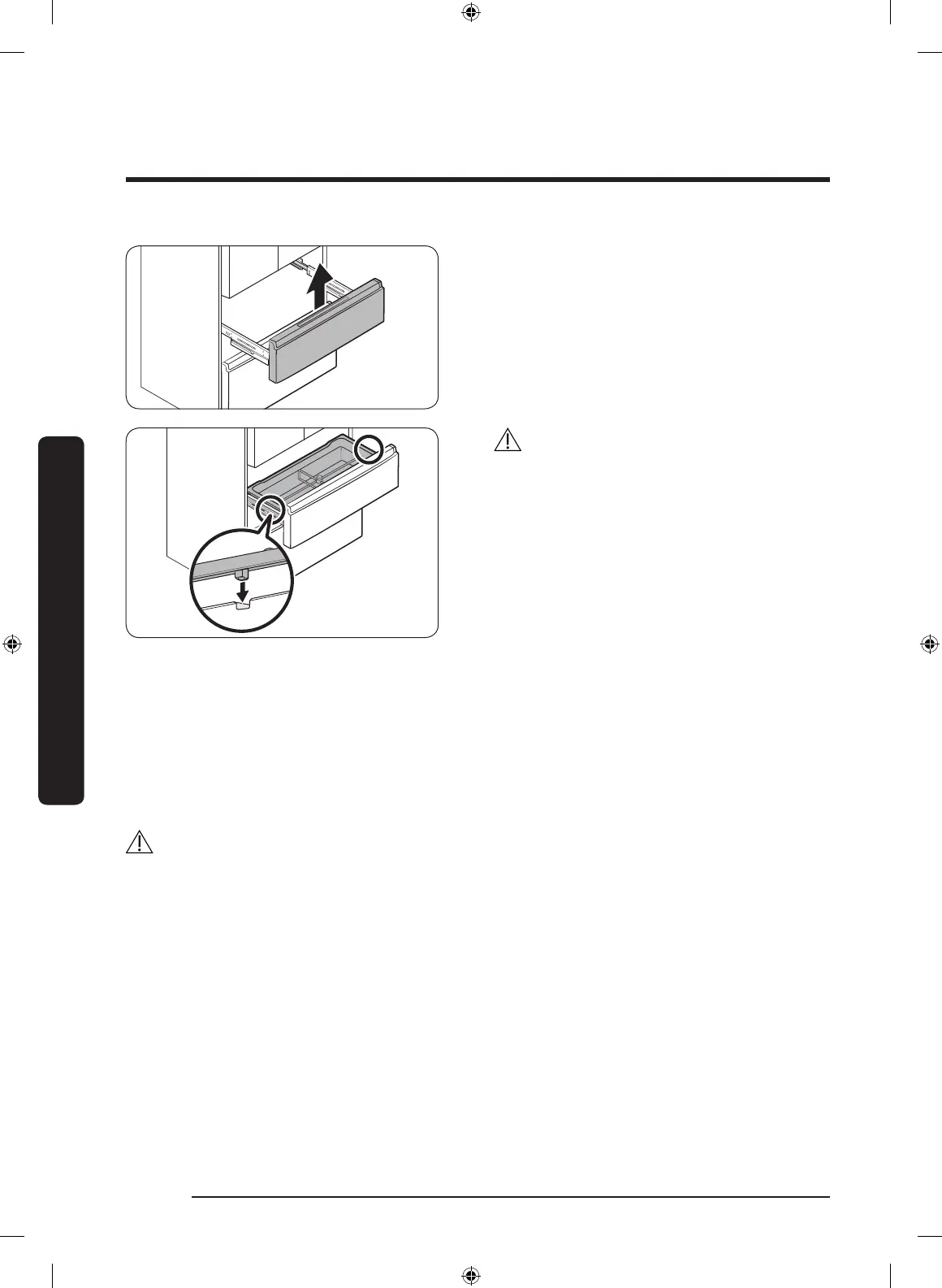
5. Lift up to remove the drawer front of
the Fresh Zone from the rail assembly.
CAUTION
Use caution when removing the rail
assembly, which may fall off causing
damage to the oor.
Make sure to put the Fresh Zone drawer
in place after removing or mounting
the Fresh Zone basket. The Fresh Zone
drawer may not open or close if the
freezer drawer is not in place.
Do not store too much food in the Fresh
Zone drawer. This prevents the Fresh
Zone drawer from closing properly,
resulting in frost buildup.
To reattach the Fresh Zone drawer
After you have moved the refrigerator to its nal location, reattach the Fresh Zone drawer
by following the removal instructions in reverse order.
CAUTION
If the Fresh Zone or the indicator does not operate properly, make sure the connectors are
connected properly.
DACOR_RF8000MC_DA68-03563J-02_EN.indd 26 3/5/2020 7:16:44 PM

Table of Contents

Related product manuals