EasyManua.ls Logo

Daewoo DLM5100SD - Page 5

Daewoo DLM5100SD
56 pages
Print Icon
To Next Page IconTo Next Page
To Next Page IconTo Next Page
To Previous Page IconTo Previous Page
To Previous Page IconTo Previous Page
Loading...
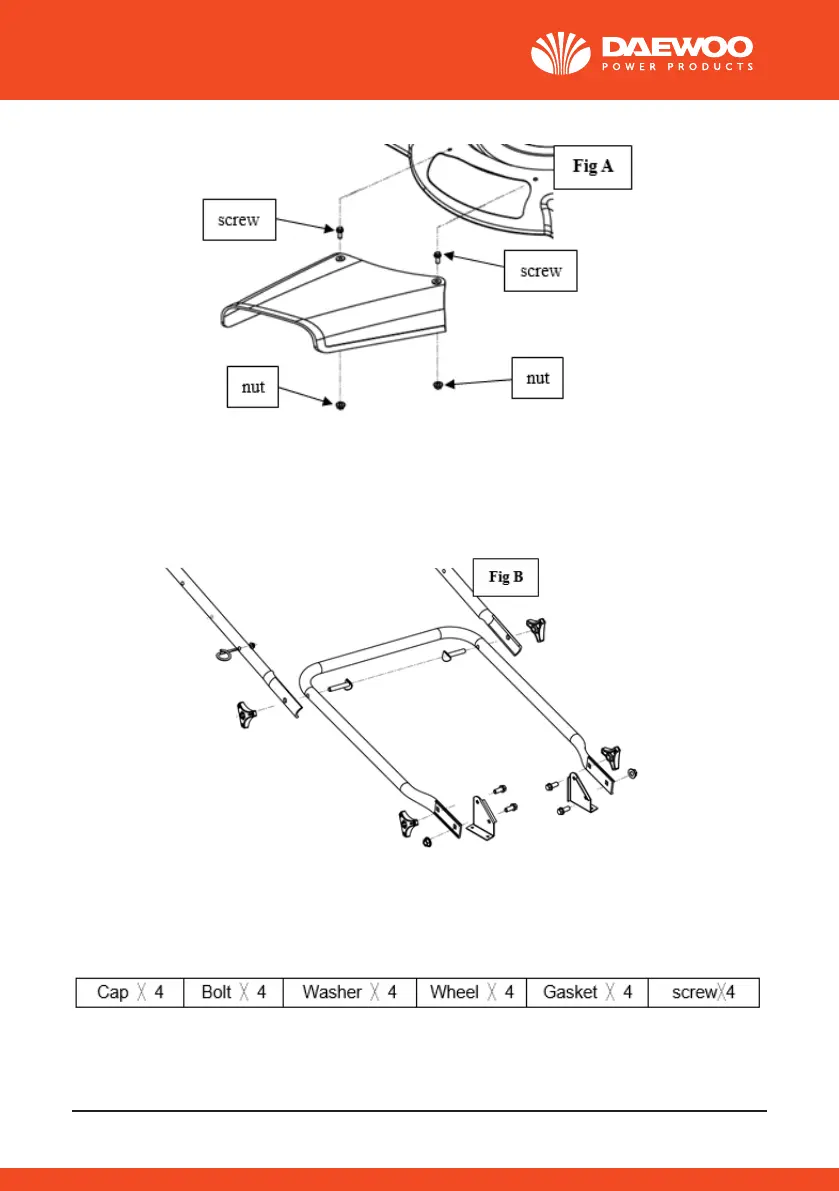
2. ASSEMBLY OF THE HANDLE
1) Assemble down handles(2) with 2 knobs, 2 nuts and 4 screws.
2) Assemble up handel(1) with 2 knobs, 2 screws.
3. ASSEMBLY OF THE HANDLE
Assembling list:
5

Related product manuals