EasyManua.ls Logo

Daikin EBLA11DA3V3 - Page 326

Daikin EBLA11DA3V3
360 pages
Print Icon
To Next Page IconTo Next Page
To Next Page IconTo Next Page
To Previous Page IconTo Previous Page
To Previous Page IconTo Previous Page
Loading...
6 | Technical data
Service manual
326
EBLA09~16DA + EDLA09~16DA
Daikin Altherma 3 M
ESIE20-06A – 2021.03
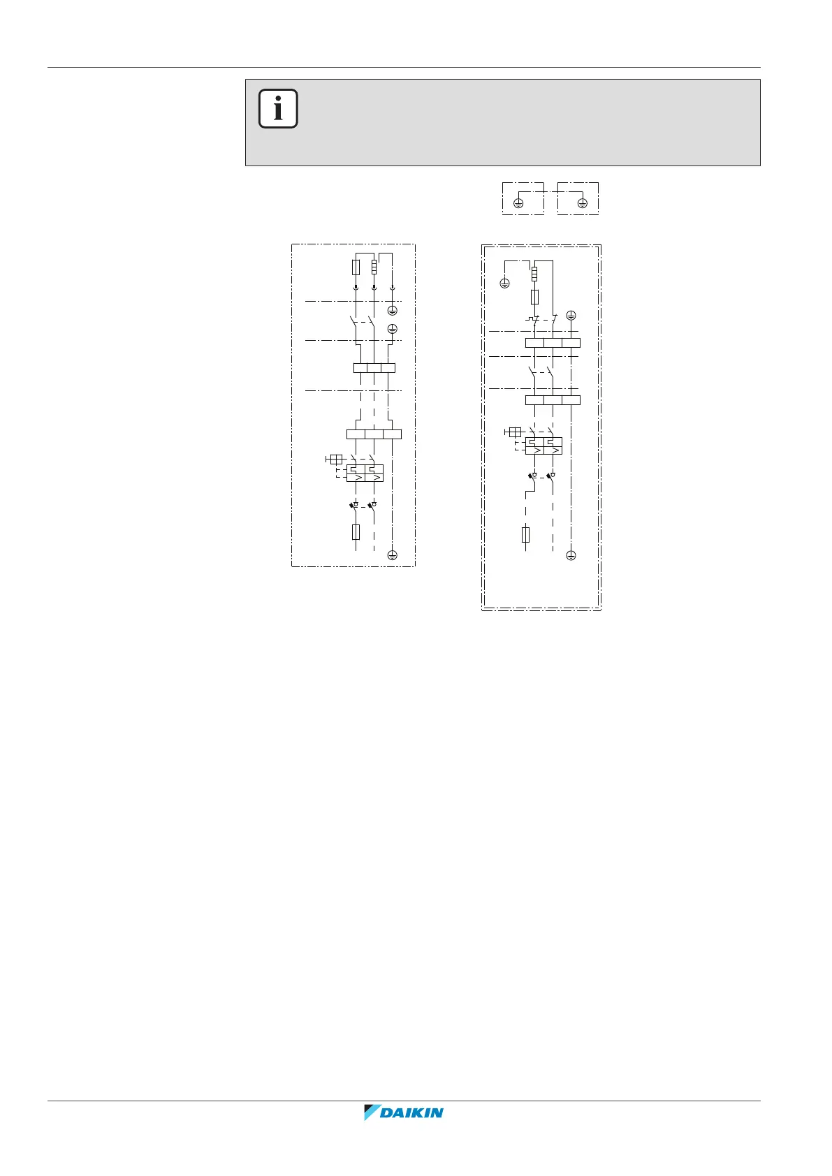
INFORMATION
The diagrams shown in this manual may be incorrect due to changes/updates to the
unit. Correct diagrams are supplied with the unit and can also be found in the
technical data book.
4D124072A
domestic hot water tank
SWB 1
SWB1SWB2
SWB1
1N~, 50 Hz
230 V AC
Internal BUH
SWB 2
SWB 1
SWB2
SWB2
SWB1
SWB2
1N~ or 3~
50 Hz
230 V AC
E5H
Q1DI
3
4
1
2
K3M
1
2
3
4
F2B
I I
2
1
Q2L
3
4
F2T
X8M
X4M
F1T
E3H
X9M L N PE
1
2
K1M
3
4
Q1DI
1
2
3
4
F1B
I I
L N
X6M
X12Y
X12YA
1 2 3
L/L1 N/L2

Table of Contents

Other manuals for Daikin EBLA11DA3V3

Related product manuals