EasyManua.ls Logo

Daikin FUD40B - Page 163

Daikin FUD40B
167 pages
Print Icon
To Next Page IconTo Next Page
To Next Page IconTo Next Page
To Previous Page IconTo Previous Page
To Previous Page IconTo Previous Page
Loading...
159
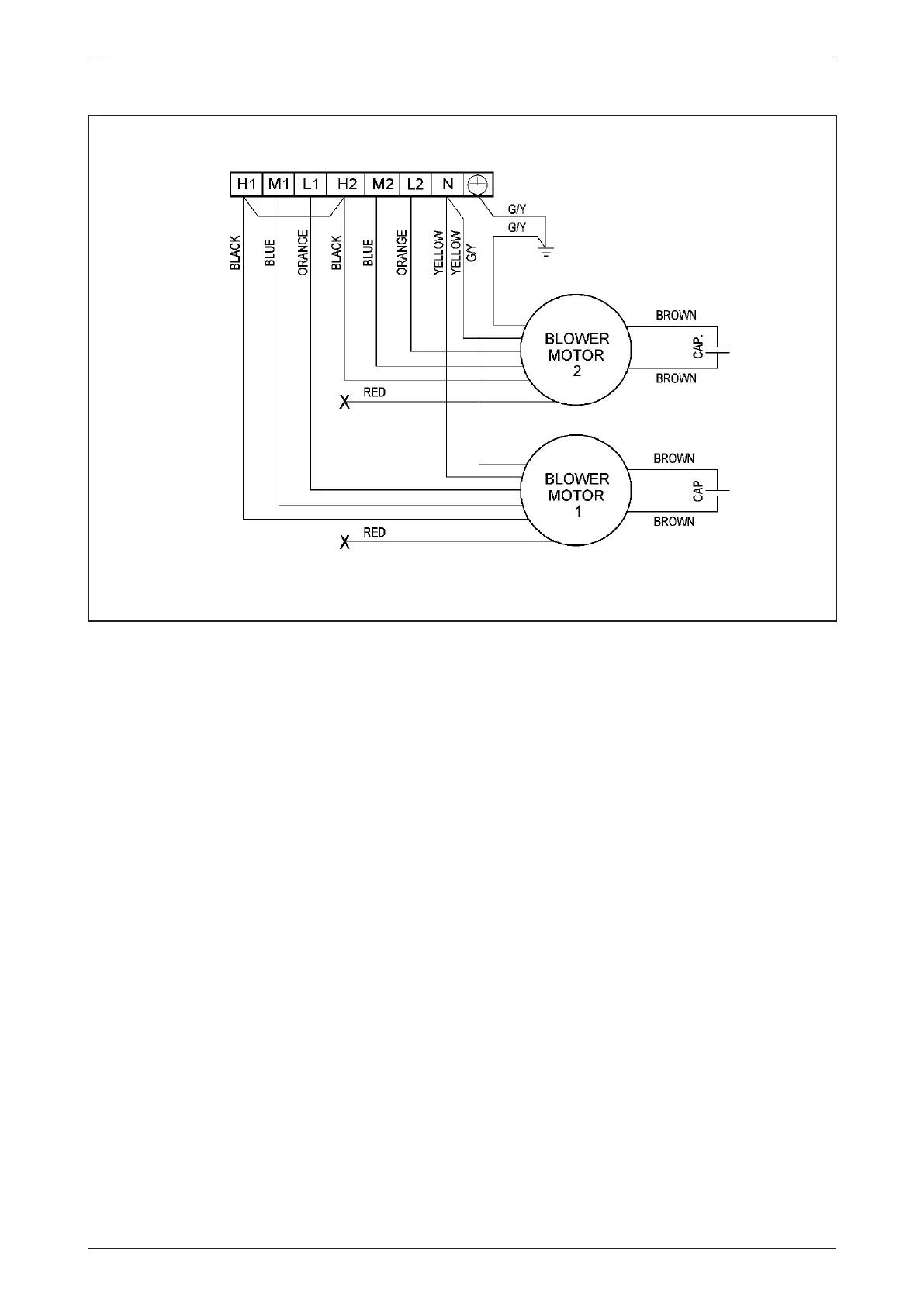
Wiring Diagrams
Model: FUD25B

Related product manuals