EasyManua.ls Logo

Daikin FWE07E - Page 163

Daikin FWE07E
167 pages
Print Icon
To Next Page IconTo Next Page
To Next Page IconTo Next Page
To Previous Page IconTo Previous Page
To Previous Page IconTo Previous Page
Loading...
159
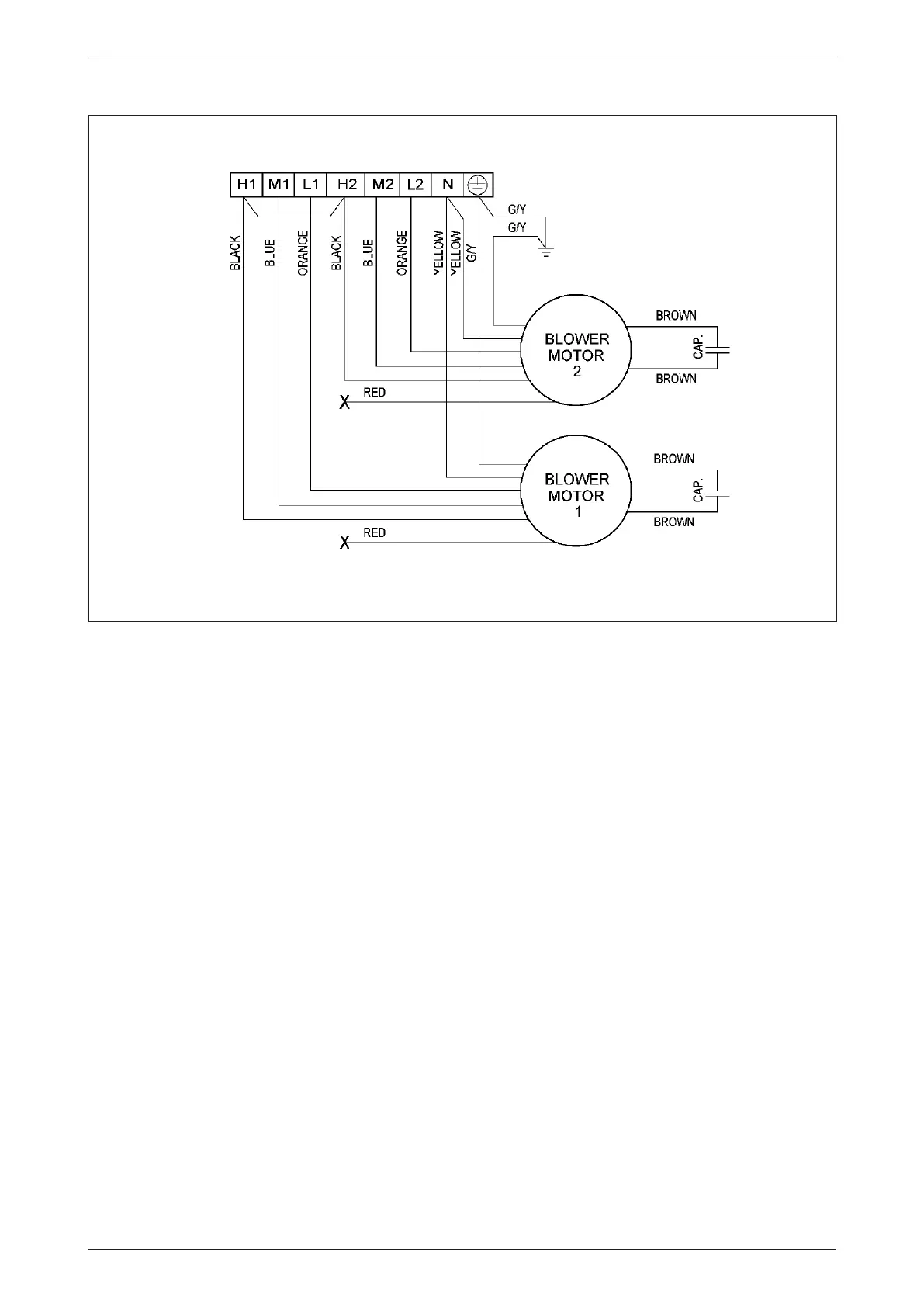
Wiring Diagrams
Model: FUD25B

Related product manuals