EasyManua.ls Logo

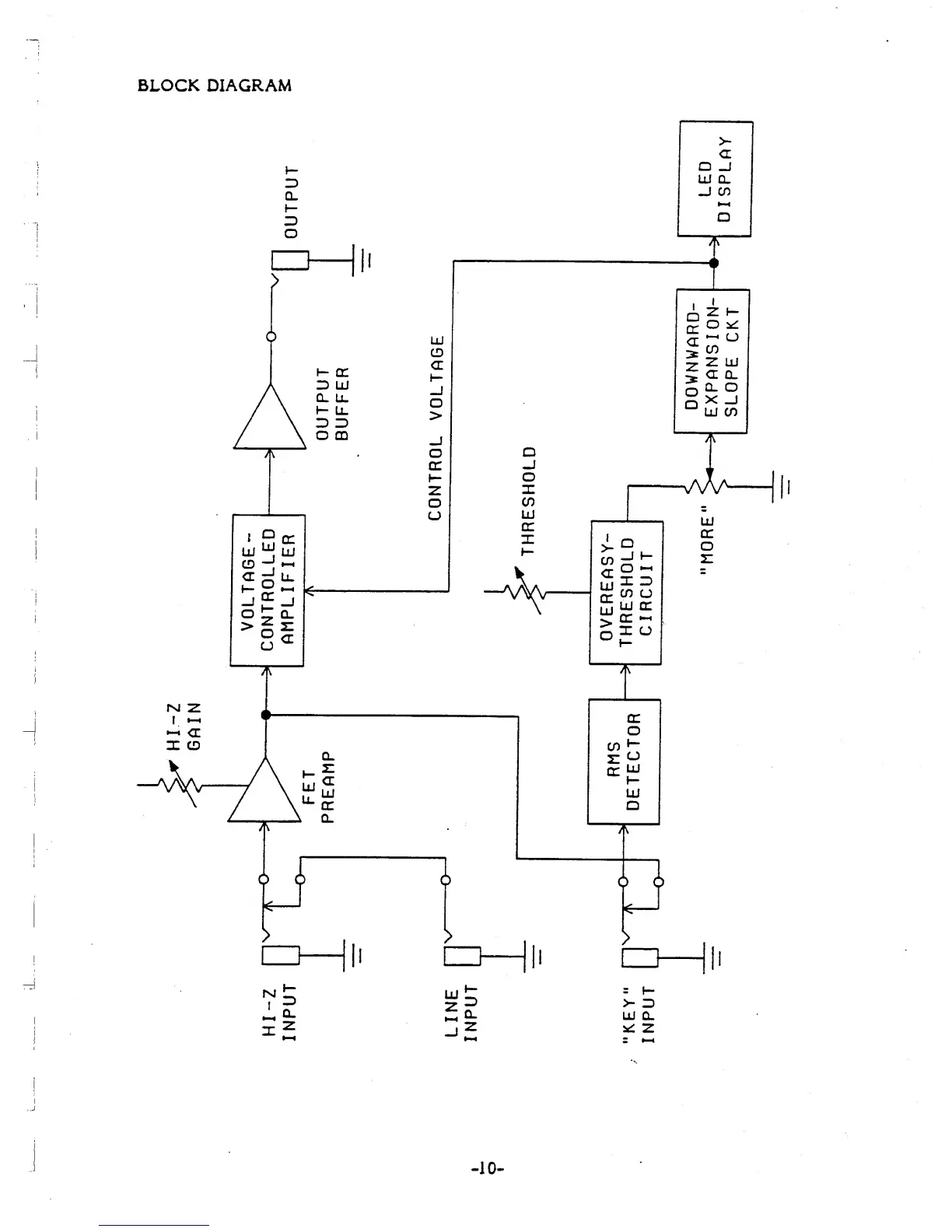
dbx 463X - System Block Diagram; Signal Path Overview

dbx 463X
31 pages
Print Icon
To Next Page IconTo Next Page
To Next Page IconTo Next Page
To Previous Page IconTo Previous Page
To Previous Page IconTo Previous Page
Loading...