EasyManua.ls Logo

Dell PowerEdge C6320 - Page 9

Dell PowerEdge C6320
74 pages
To Next Page IconTo Next Page
To Next Page IconTo Next Page
To Previous Page IconTo Previous Page
To Previous Page IconTo Previous Page
Loading...
Getting Started With Your System | 9
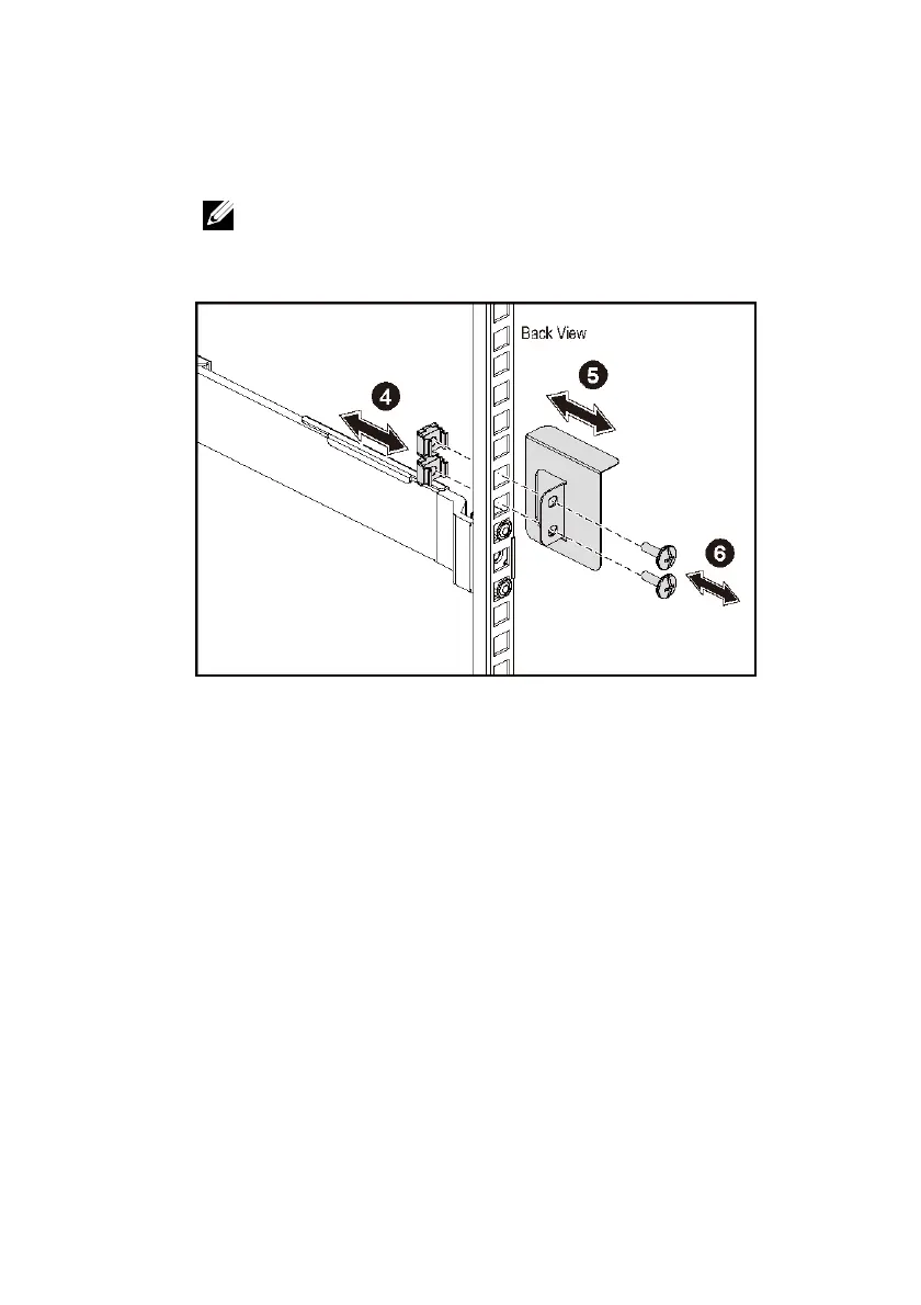
6 Install and tighten the screws.
NOTE: To transport systems already installed in the rack, ensure
that the two chassis stabilizer shipping brackets (optional) are in
place.
Figure 3. Installing the Chassis Stabilizer Shipping Brackets

Other manuals for Dell PowerEdge C6320

Related product manuals