EasyManua.ls Logo

Denon D-MA5DV - Page 50

Denon D-MA5DV
107 pages
Print Icon
To Next Page IconTo Next Page
To Next Page IconTo Next Page
To Previous Page IconTo Previous Page
To Previous Page IconTo Previous Page
Loading...
D-MASDV/D-MX7700DV
50
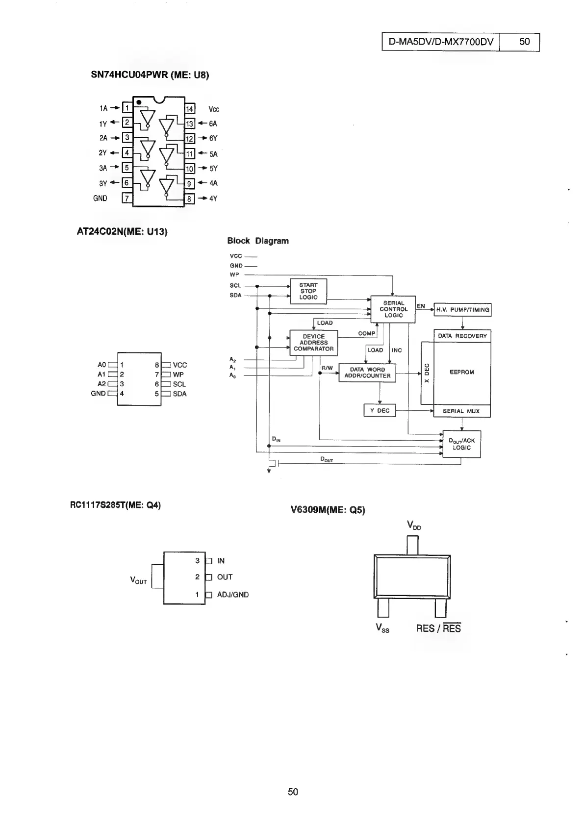
SN74HCUO4PWR
(ME:
U8)
AT24C02N(ME:
U13)
Block
Diagram
SERIAL
CONTROL
LOGIC
H.V,
PUMP/TIMING
—+[<sttn
ts
cal
g
Ay
.
RC1117S285T(ME:
Q4)
V6309M(ME:
Q5)
Voo
3
(7
IN
Vane
2
(1
OUT
1
(1
ADJ/GND
Veg
RES
/
RES
50

Related product manuals