EasyManua.ls Logo

DeWalt DW033 - Page 2

DeWalt DW033
8 pages
Print Icon
To Next Page IconTo Next Page
To Next Page IconTo Next Page
To Previous Page IconTo Previous Page
To Previous Page IconTo Previous Page
Loading...
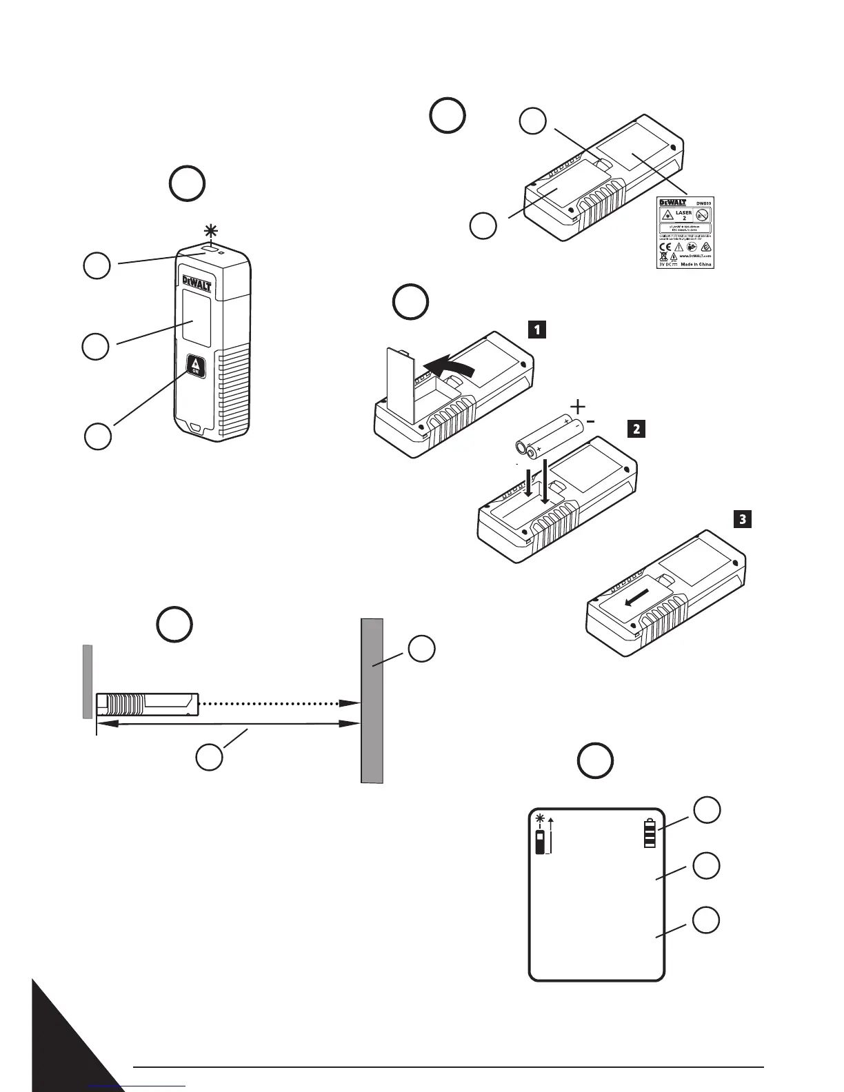
A
1
2
3
B
1
2
C
AAA
D
1
2
2
Figures
E
6.21ft
6.17ft
1
2
3

Related product manuals