EasyManua.ls Logo

Dirt Devil PD11030 - Page 6

Dirt Devil PD11030
60 pages
Print Icon
To Next Page IconTo Next Page
To Next Page IconTo Next Page
To Previous Page IconTo Previous Page
To Previous Page IconTo Previous Page
Loading...
6
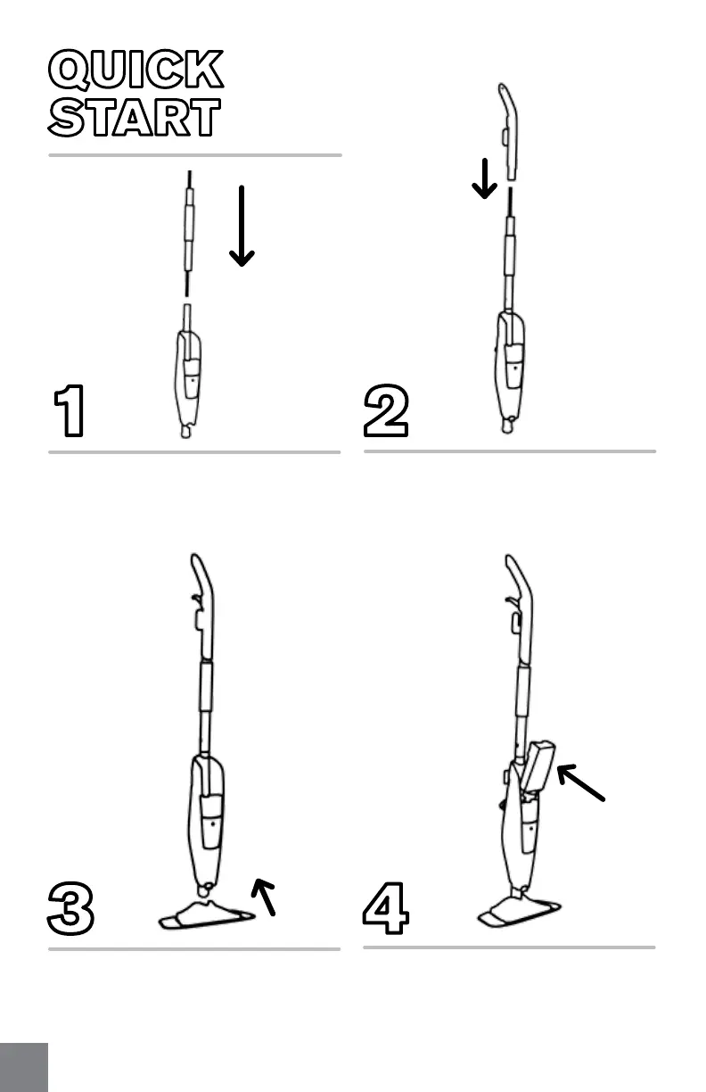
POP THE HANDLE ONTO THE
BODY. IT'LL CLICK.
THEN INSERT THE HANDLE
GRIP ONTO THE HANDLE.
IT'LL CLICK TOO.
POP ON THE MOP HEAD. TIP THE SOLUTION BOTTLE IN
LIKE THIS AND PUSH DOWN.
IT'LL CLICK.

Related product manuals