EasyManua.ls Logo

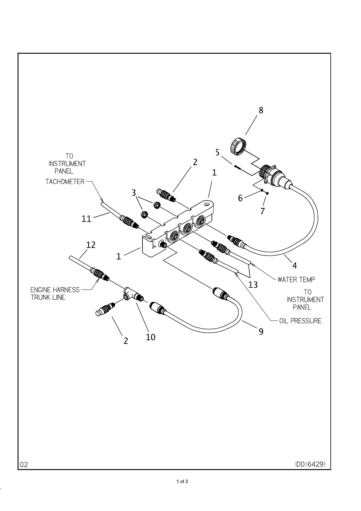
DitchWitch JT4020 - CONTROLLER J-BOX

Default Icon
356 pages
Print Icon
To Next Page IconTo Next Page
To Next Page IconTo Next Page
To Previous Page IconTo Previous Page
To Previous Page IconTo Previous Page
Loading...
ЭСТМОСФФЫО ЦуЮСИ
328