EasyManua.ls Logo

DJ-Tech VISA 80 - Wired Microphone Usage; Audio Input;Output Connections; Mixer and Tone Controls; Charging and Battery Status

DJ-Tech VISA 80
10 pages
Print Icon
To Next Page IconTo Next Page
To Next Page IconTo Next Page
To Previous Page IconTo Previous Page
To Previous Page IconTo Previous Page
Loading...
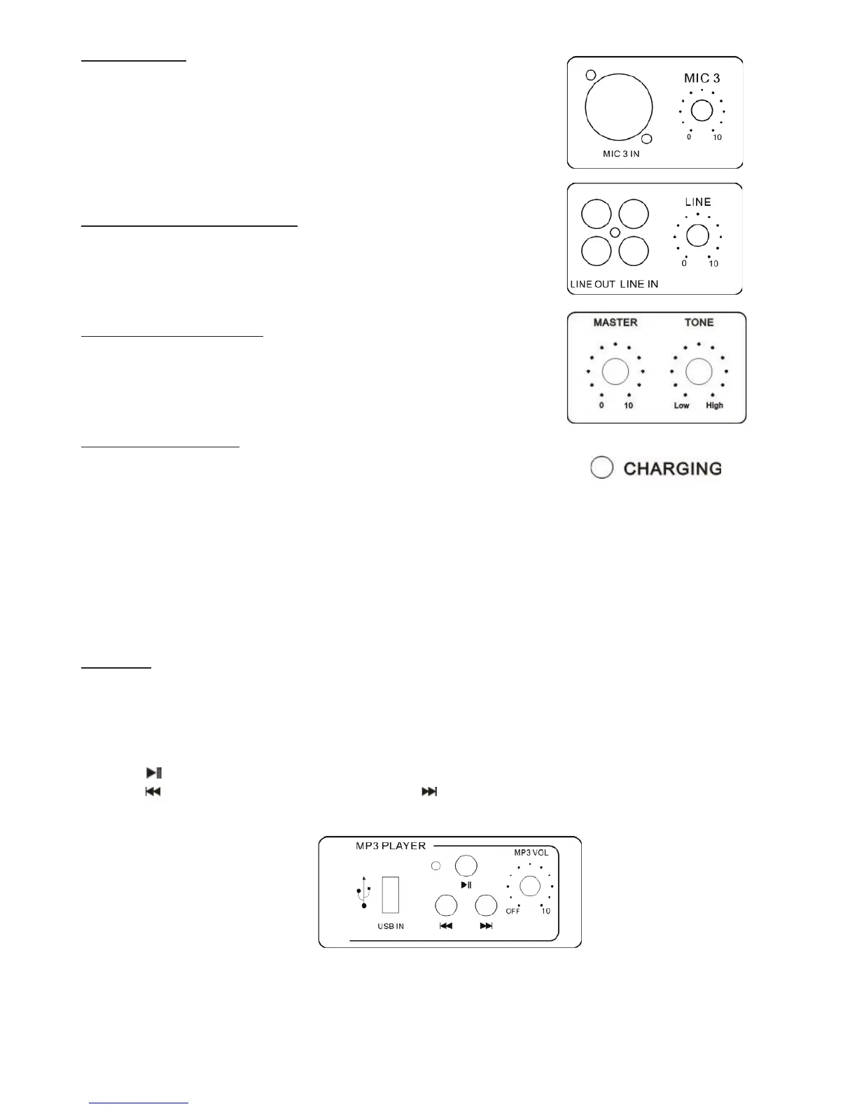
Wired mic MIC 3
1. Turn on the power supply switch to the ON.
2. Plug the wired mike into the MIC3 combo socket.
3. Turn MIC3 volume knob to adjust the volume, please don't aim at the
speaker in order to prevent laser.
When non-use, turns down the volume, and pulls out the mike plug.
line input and output LINE IN &OUT
1. Turn on the power supply switch to the ON.
2. Plug the RCA into LINE IN or OUT.
3. Rotate the LINE to knob adjust the volume.
MIX main channel operation
1. Rotate MASTER VOL to adjust the volume.
2. 2 .Turn TONE knob to adjust the tone of the unit.
Charging and protection
1. When charging, the charging indicator lamp will flicker, and when
charging is finished, it will light constantly.
2. Protection: when the storage battery voltage isn't enough, the light at the power on/off will flashing
to indicate the need for charging. If it is still being used, when the storage battery voltage is too low
the power will turn off automatically. Turn on the power on/off again after finished charging.
NOTE: If you want to stop using the CD player, please turn the CD volume to the minimum position, press
STOP and OPEN key to take out the disk, and turn off power. This can save electricity and extends the
use time of the battery.
MP3 Player
1. Turn on the power supply switch to ON.
2. Turn the MP3 VOL, turn on the power switch and properly adjust the volume; MP3 VOL green indicator
lamp lights.
3. Insert your Mp3 or WMA to USB socket, the unit will begin to read the disk and play MP3 and WMA songs.
Meanwhile the green indicator lamp flashing.
4. Press key can stop playing temporarily while press it again can continue playing.
5. Press key can select the last song while press key can select the next song.
6. If you want to switch off the player, please take out your MP3 or WMA and turn off the power.
6