EasyManua.ls Logo

Domo MS171 - Page 19

Domo MS171
Print Icon
To Next Page IconTo Next Page
To Next Page IconTo Next Page
To Previous Page IconTo Previous Page
To Previous Page IconTo Previous Page
Loading...
www.domo-elektro.be MS171
19
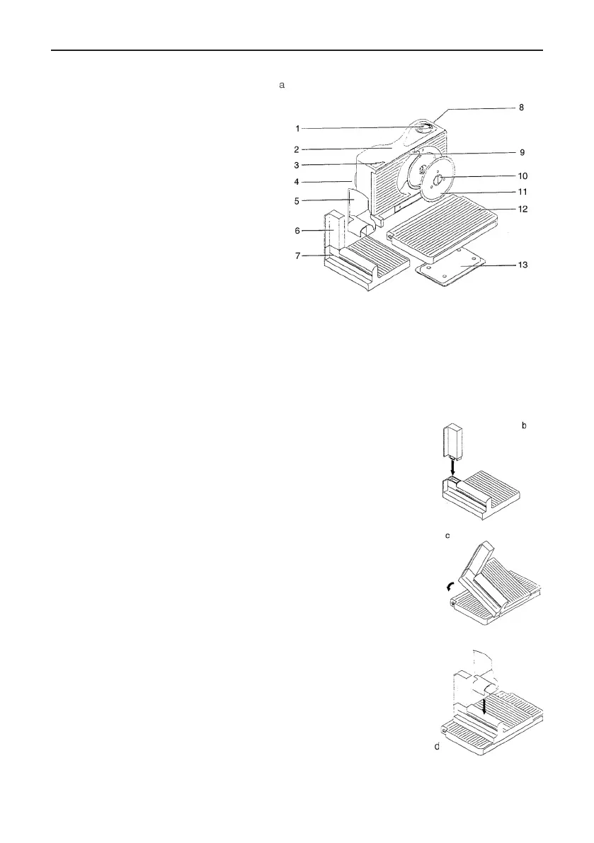
PARTS (fig. A)
1. On/out switch
2. Machine cover
3. Thickness indicator
4. Knob (dial) for adjusting thickness
5. Hand protection
6. Finger/thumb protection
7. Sliding carriage
8. Safety switch
9. Support platform
10. Screw for fastening the blade
11. Blade
12. Foldable carriage
13. Food carriage
FOR FIRST TIME USE
TAKE CARE: It is important to read the instruction manual carefully beforehand.
Pay strict attention to the safety instructions.
Always remove the plug from the mains socket before adding or removing parts or
cleaning.
ASSEMBLY FINGER/THUMB PROTECTION (fig b)
Place the nger protection (6) perpendicular to the opening in the
sliding carriage (7) and press rmly.
ASSEMBLY SLIDING CARRIAGE (fig c)
Place the markings on the sliding carriage (7) on the markings
indicated on the foldable carriage (12) and press the sliding
carriage down. Carefully check the sliding carriage to make sure it
is secured properly.
ASSEMBLY HAND PROTECTION (fig d)
Push the hand protection (5) against the top of the sliding carriage
(7).
TAKE CARE: it is only safe to remove the hand protection if
the foodstuff that you wish to slice is longer than 15 cm. If using
the appliance without the hand protector then extra care must
be taken. Always keep your ngers/thumb well away from the
rotating blade.

Related product manuals