EasyManua.ls Logo

Ea2 BL506 - Page 25

Ea2 BL506
27 pages
Print Icon
To Next Page IconTo Next Page
To Next Page IconTo Next Page
To Previous Page IconTo Previous Page
To Previous Page IconTo Previous Page
Loading...
GERMAN 7GERMAN 6
Nota: Los botones (excepto el botón "Light" (Luz) [B1]) no funcionan mientras se
busca la señal del termonsensor a no ser que se reciba correctamente o se
detenga manualmente.
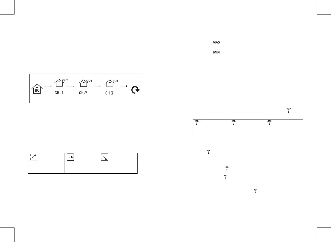
6.2 Temperatura:
(1) Temperatura--- Selección del canal
Pulse el botón “CHANNEL (CANAL) (B8) y seleccione para ver la temperatura
interior y la temperatura de los 3 canales exteriores. La secuencia se muestra del
siguiente modo:
Pulse el botón “CHANNEL” para que se muestre:
Mostrar alternativamente
el canal interior ylos tres canales
Mientras se muestra la temperatura exterior, mantenga pulsado el botón
“CHANNEL (B8) durante 3 segundos para eliminar un canal manualmente. Se
registraautomáticamente un canal otra vez si se recibe uno nuevo. Si no se
muestra la temperatura en un canal existente (se muestra - - . –“ en la pantalla
LCD), mantenga pulsado el botón “CHANNEL” (B8) durante 3 segundos para
cancelar este canal y recibir el canal de nuevo.
(2) Tendencia de la temperatura
El indicador de tendencia (A5) mostrado en la pantalla LCD indica la tendencia de
la temperatura para el canal actual (Interior y exterior CH1, CH2 y CH3).
Indica que la temperatura
está subiendo
Indica que la
temperatura es estable
Indica que la temperatura
está bajando
(3) Grados centígrados/Fahrenheit
Pulse el botón “°C/°F” (B7) para seleccionar la temperatura interna/externa en el
modo de grados cengrados o Fahrenheit.
Si la temperatura se encuentra fuera del rango medible, se mostrará LL.L (por
debajo de la temperatura nima) o HH.H (más encima de la temperatura
máxima) en la pantalla LCD.
(4) Función de registro de temperatura máxima/mínima:
Pulse el botón “MAX/MIN” (B5) para ver el mínimo o el máximo de la
temperatura INTERIOR/EXTERIOR.
Si se muestra “
” en la pantalla LCD, significa que la temperatura indicada es
la temperatura máxima registrada.
Si se muestra
en la pantalla LCD, significa que la temperatura indicada es
la temperatura mínima registrada.
Mantenga pulsado el botón “MAX/MIN” (B5) durante 3 segundos para borrar la
lectura registrada de máximo y mínimo.
7. Ajuste de la hora/alarma
7.1 Reloj radiocontrolado:
El reloj comienza a buscar automáticamente la señal de radiofrecuencia de
433MHz para registrar la nueva unidad de termosensor una vez que se insertan
nuevas pilas. Tras registrar los nuevos canales
o pulsar el botón “CHANNEL(B8) para detener la búsqueda, el reloj buscará la
señal de la hora DCF automáticamente. El icono del radiocontrol (A3)
parpadea en la pantalla LCD.
(A3) parpadea
Indica que está recibiendo
la señal DCF
(A3) se enciende
Indica que se ha recibido
la señal con éxito
(A3) desaparece
Indica que ha fallado la
recepción de la señal
El reloj busca automáticamente la señal de la hora cada a a las 3:00 de la
madrugada para mantener la hora exacta. Si la recepción falla, la squeda se
detiene (“ desaparece en la pantalla LCD) y se vuelve a repetir de nuevo a las
4:00, las 5:00 y las 6:00.
El reloj se puede ajustar para buscar la señal horaria manualmente manteniendo
pulsados los botones (B7) durante 3 segundos. Si la recepción falla, la
búsqueda se detiene (“ desaparece de la pantalla LCD) y se repite de nuevo a
la próxima hora en punto, por ejemplo, si la recepción falla a las 8:20 de la
mañana, se intentará de nuevo a las 9:00.
Detención de la búsqueda pulsando el botón [ ] (B7) durante 3 segundos.
La indicación “DST se muestra en la pantalla LCD si se encuentra en el Modo de
horario de verano
Downloaded from www.vandenborre.be