EasyManua.ls Logo

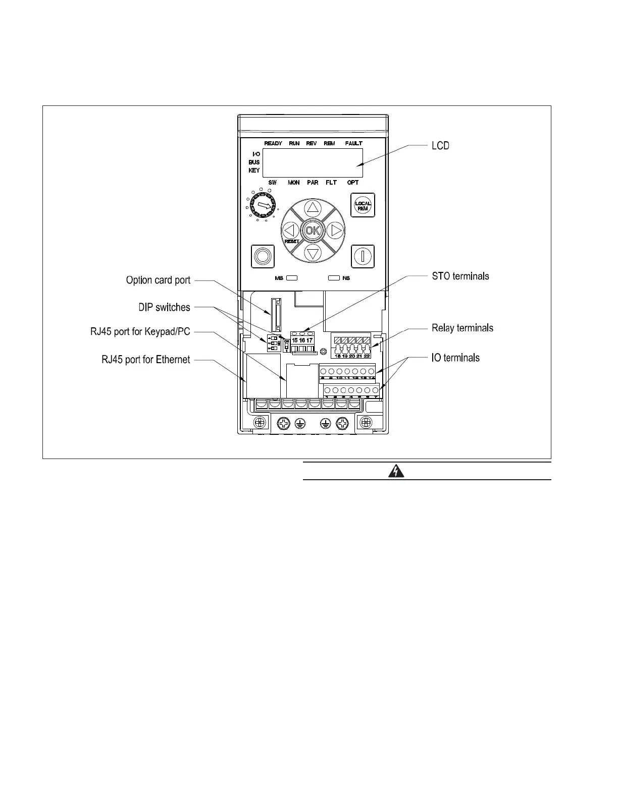
Eaton PowerXL DM1-113D0NB-S20S - Figure 32. STO Terminal Block in DM1 Control Board

Eaton PowerXL DM1-113D0NB-S20S
102 pages
To Next Page IconTo Next Page
To Next Page IconTo Next Page
To Previous Page IconTo Previous Page
To Previous Page IconTo Previous Page
Loading...
88
Appendix E—STO function
POWERXL SERIES VFDS MN040060EN—September 2020 www.eaton.com
Figure 32. STO terminal block in DM1 control board.
The STO terminal block shall be short circuited by jumper if
user does not need STO function.
If the function is used by customer, the STO terminal block
shall be connected to emergency stop switch.
The STO function needs to be always on, which means the
idle-current principle shall be followed by the end user.
Fault exclusion measures against short circuit fault between
STO1/STO2 and power supply 24VDC must be implemented
at application level, according to applicable requirement/
standards e.g. ISO 13849-2:2012.
WARNING
Any circuit connected to the STO terminal block shall
be SELV or PELV circuit.
STO1 and STO2 shall be both connected with the
independent output of the safety elements.
The STO terminal block is fixed connection and cannot
be disconnected without tool. Installation manual
defines the control wiring stripping length to ensure
no bare conductor exposed after wiring.
The safety function STO is not equivalent to the safety
function “safe off” of IEC 60204-1:2016, since it does
not provide any galvanic insulation. This means that
the motor terminals can still have dangerous voltage
when in STO state.
.

Table of Contents

Related product manuals