EasyManua.ls Logo

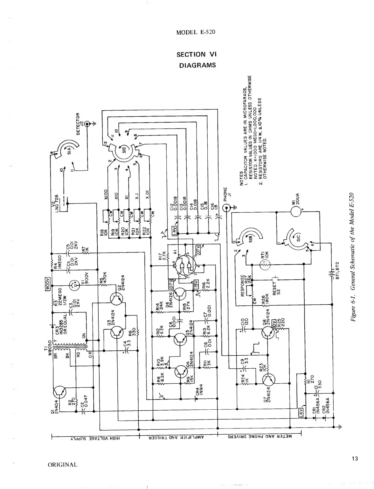
Eberline E-520 - SECTION VI DIAGRAMS; Figure 6-1. General Schematic of the Model E-520

Default Icon
19 pages
Print Icon
To Next Page IconTo Next Page
To Next Page IconTo Next Page
To Previous Page IconTo Previous Page
To Previous Page IconTo Previous Page
Loading...
MODEL
E-520
SECTION
VI
DIAGRAMS
‘Q3.LON
3SIMH3H.IO
SS31NN
%0IF
Mb/l
38V
SHOLSIS3H
`Z
000'000'1:093W
0001-5
'0310N
3SIMM3H.IO
SSIINN
SWHO
NI
S3
TVA
HOLSIS3H
"SOVHYVHOH0IW
NI
34V
SINIYA
NOLIOVAVI
|
S31ON
er
80193130
OZS-F
12pow
ays
fo
ouDWoyo$
j42u22).
"7-9
24n814
218'l18
T
Ale
V9OSPNI
eyo
VOSbNI
199
MOI
WOBIS
PeivNe
ww
PZIPNZ
alt
923
80
LJ
E
Ww
25
M2
UJ
(us
O]
:
E
228
ozi
Ce
ai
3SNOdS3H
010
62
bzy
924
0NI
e^
9399181
ANY
H3ldl
1dWV
SH3AIHMO
3NOHd
ANY
H313N
AlddfiS
39V1'OA
H9IH
13
ORIGINAL