EasyManua.ls Logo

Eberline ESP-1 - Page 77

Default Icon
96 pages
Print Icon
To Next Page IconTo Next Page
To Next Page IconTo Next Page
To Previous Page IconTo Previous Page
To Previous Page IconTo Previous Page
Loading...
BAT
LO
BAT
SENSE
4
A103
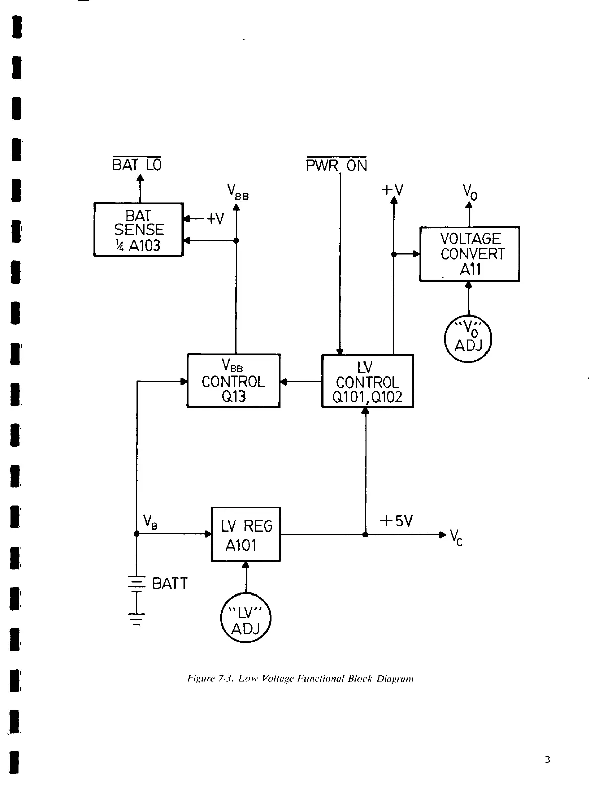
Figure
7-3.
Low
Voltage
Functional
Block
Diagram
VOLTAGE
CONVERT
АМ

Related product manuals