EasyManua.ls Logo

Ebsray MD Series - Page 11

Ebsray MD Series
12 pages
Print Icon
To Next Page IconTo Next Page
To Next Page IconTo Next Page
To Previous Page IconTo Previous Page
To Previous Page IconTo Previous Page
Loading...
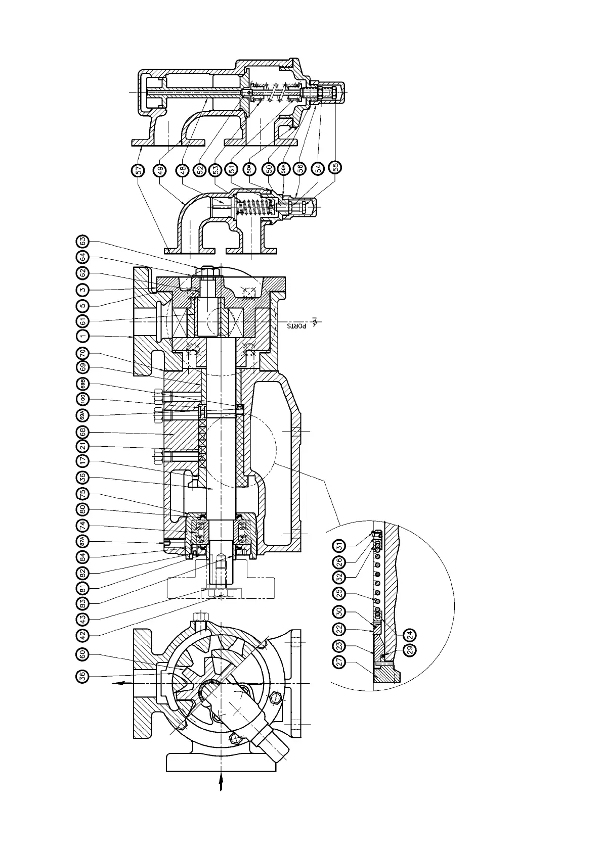
MD1112, MD200 & MD212
Balanced Type
MD100, MD114, MD112, MD200 & MD212 Std Bracket
Parts Designation
MD100 & MD114
Poppet Type
11