EasyManua.ls Logo

ECRON TF-2000-1R - Page 36

ECRON TF-2000-1R
Print Icon
To Next Page IconTo Next Page
To Next Page IconTo Next Page
To Previous Page IconTo Previous Page
To Previous Page IconTo Previous Page
Loading...
36
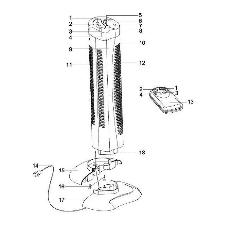
A) You can operate or stop the fan by using the remote
control or pressing the power button.
1 Power on/off button: for turning the fan on or off.
Gently push the “Power” button on the control panel
or on the remote control.
2 The fan has three speeds: high, medium or low.
Every time you push the “Speed” button, the fan speed will
alternate between three options.
3. The fan has a rotary motion.
4. You can programme the fan using the “Timer, that offers
four programmes up to a maximum of 8 hours. You can
programme the fan so that it turns off automatically after 8
hours.
To use this function, just push the “Timer” button on the
remote control or on the control panel of the appliance.
IF YOU PUSH ONCE: 1 hour
IF YOU PUSH TWICE: 2 hours
IF YOU PUSH 3 TIMES: 4 hours
IF YOU PUSH 4 TIMES: 8 hours
IF YOU PUSH 5 TIMES: the timer will go off
The light indicators on the top panel of the fan show the
programmed time.
B) You can operate or stop the fan using the remote control.
The functions of the buttons on the fan are the same as
those on the remote control.