EasyManua.ls Logo

EDIFIER HECATE G5BT - Page 15

EDIFIER HECATE G5BT
22 pages
Print Icon
To Next Page IconTo Next Page
To Next Page IconTo Next Page
To Previous Page IconTo Previous Page
To Previous Page IconTo Previous Page
Loading...
Brano precedente
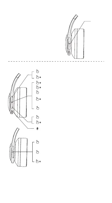
■ Carica
1. Il LED rosso lampeggia quando l'auricolare
ha la batteria scarica.
2. Il LED rosso si accende fisso durante la ricarica
e si spegne quando è completamente carico.
Commutazione effetti di luce; Accensione per la
prima volta, compare il LED blu ghiaccio per
impostazione predefinita
Commutazione modalità musica/gioco; si trova in
modalità musica per impostazione predefinita
quando esce dalla fabbrica
Effetti luce accensione/spegnimento
Indicatore
Nota:
1. Quando si accende per la prima volta, l'auricolare entra automaticamente nello
stato di associazione Bluetooth.
2. Nello stato di associazione Bluetooth, i LED rosso e blu lampeggiano
alternativamente.
3. Il LED blu lampeggia due volte ogni 5 secondi dopo il collegamento.
4s
x2
x1
■ Comandi
+
-
Brano successivo
Microfono silenziato
Aumento volume
2s
2s
x1
x1
Nello stato di associazione Bluetooth toccare quattro
volte per resettare. Il LED blu lampeggia 6 volte
rapidamente ogni 2s
x4
3s
Accensione
5s
Spegnimento
5s
Spegnere e tenere premuto per 5 secondi per
accedere alla modalità di associazione Bluetooth
x1
Riproduzione/pausa
Diminuzione volume
+
-