EasyManua.ls Logo

Ego Power+ PSA1000 - Page 14

Ego Power+ PSA1000
36 pages
Print Icon
To Next Page IconTo Next Page
To Next Page IconTo Next Page
To Previous Page IconTo Previous Page
To Previous Page IconTo Previous Page
Loading...
POLE SAW ATTACHMENT — PSA1000/PSA1000-FC14
CONNECTING THE POLE SAW ATTACHMENT TO THE POWER HEAD
WARNING:
Never attach or adjust any attachment while the power head is
running or with the battery installed. Failure to stop the motor and remove the battery
may cause serious personal injury.
This pole saw attachment is designed for use with EGO Power Head PH1400/PH1400-FC.
The pole saw attachment connects to the power head by means of a coupler device.
1. Stop the motor and remove the battery pack.
2. Loosen the wing knob.
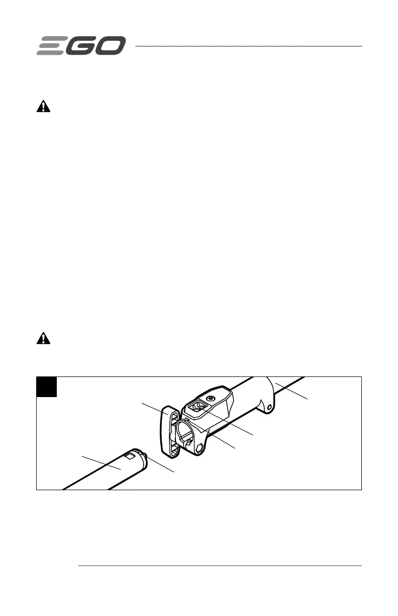
3. Remove the end cap from the pole saw attachment. Align the arrow on the pole-
saw shaft with the arrow on the coupler and push the pole-saw shaft into the
coupler until you hear a clear “click” sound which indicates the pole-saw shaft is
mounted into place (Fig. 2).
4. Pull the shaft of the attachment to verify it is securely locked into the coupler. If
not, rotate the pole-saw shaft from side to side in the coupler until it snaps into
place.
5. Tighten the wing knob securely.
WARNING:
Be certain that the wing knob is fully tightened before operating
the equipment; check it periodically for tightness during use to avoid serious personal
injury.
2
Arrow on the Coupler
Arrow on the Attachment Shaft
Pole-saw Shaft
Shaft-Release Button
Power Head Shaft
Wing Knob

Related product manuals